Оригинальные каталоги
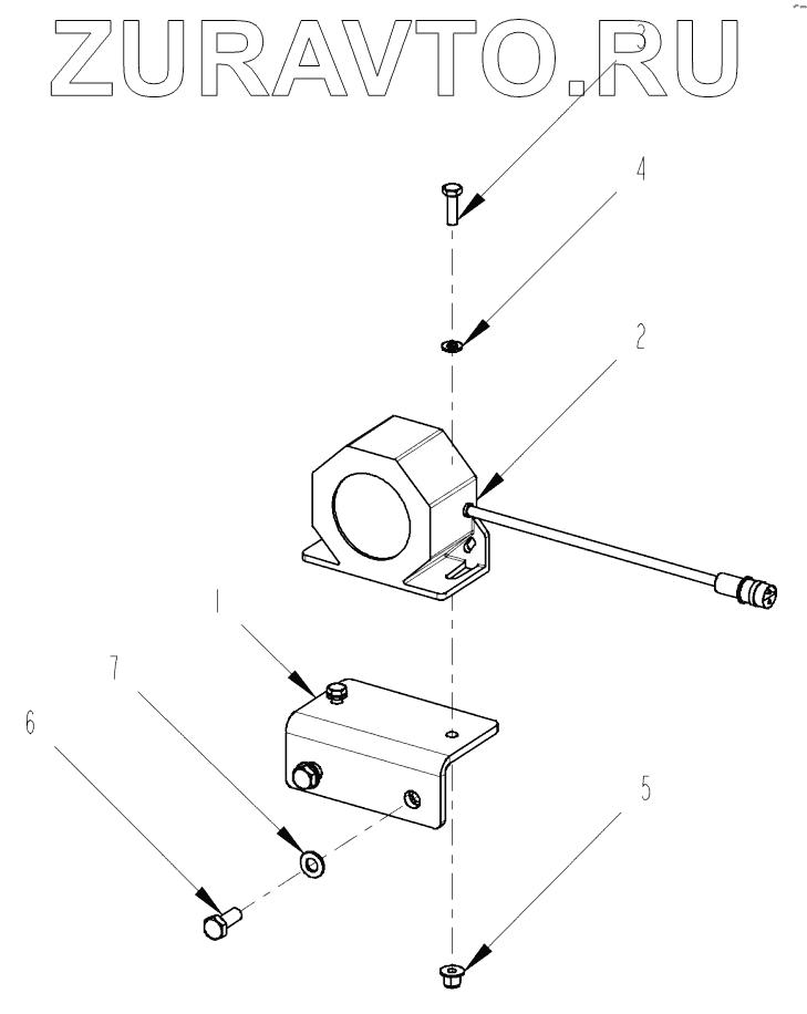
| № | Номер | Наименование | Цена | |
|---|---|---|---|---|
| 1 | 4812105552 | Bracket | Нет в продаже |
|
| 2 | 4700904910 | Back-up alarm | Нет в продаже |
|
| 3 | 4700500040 | Screw | Нет в продаже |
|
| 4 | 4700904228 | Steel plain washer | Нет в продаже |
|
| 5 | 4700902285 | Nut | Нет в продаже |
|
| 6 | 4700500053 | Hex. screw | Нет в продаже |
|
| 7 | 4700904229 | Washer | Нет в продаже |
|
1
2
3
4
5
6
7
Содержащиеся в справочниках-каталогах запасные части и детали носят исключительно информационный характер