Оригинальные каталоги
| № | Номер | Наименование | Цена | |
|---|---|---|---|---|
| 4812118885 | 4812118885 | Key 2 pcs 044 | Нет в продаже |
|
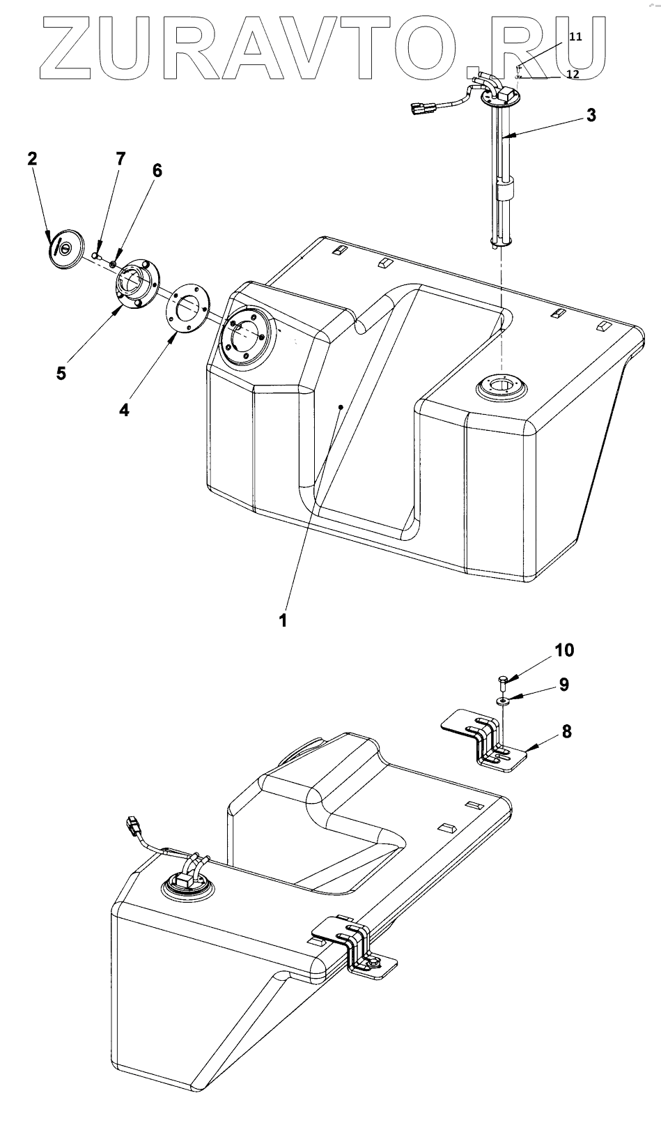
| 1 | 4812105891 | FUEL TANK | Нет в продаже |
|
| 2 | 4812118459 | Fuel cap | Нет в продаже |
|
| 3 | 4700387552 | Level gauge | Нет в продаже |
|
| 4 | 4812118126 | Flange gasket | Нет в продаже |
|
| 5 | 4812118125 | Filler neck end | Нет в продаже |
|
| 6 | 4700904228 | Steel plain washer | Нет в продаже |
|
| 7 | 4700500013 | Hex. screw | Нет в продаже |
|
| 8 | 4700357466 | Holder plate | Нет в продаже |
|
| 9 | 4700904640 | Washer | Нет в продаже |
|
| 10 | 4700500053 | Hex. screw | Нет в продаже |
|
| 11 | 4700500258 | Hex. screw | Нет в продаже |
|
| 12 | 4700904698 | Steel plain washer | Нет в продаже |
|
1
2
3
4
5
6
7
8
9
10
11
12
Содержащиеся в справочниках-каталогах запасные части и детали носят исключительно информационный характер