Оригинальные каталоги
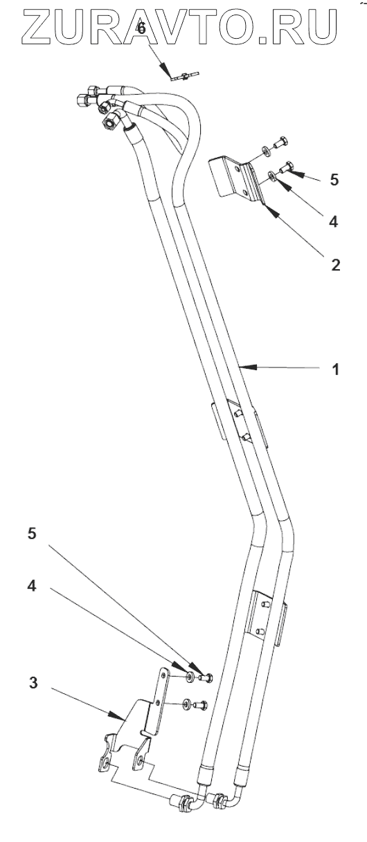
| № | Номер | Наименование | Цена | |
|---|---|---|---|---|
| 1 | HoseKit | Hose Kit | Нет в продаже |
|
| 2 | 4812119496 | Bracket | Нет в продаже |
|
| 3 | 4812119497 | Bracket | Нет в продаже |
|
| 4 | 4700904557 | Washer | Нет в продаже |
|
| 5 | 4700500048 | Hex. screw | Нет в продаже |
|
| 6 | 4700792686 | Cable tie with holder | Нет в продаже |
|
1
2
3
4
4
5
5
6
Содержащиеся в справочниках-каталогах запасные части и детали носят исключительно информационный характер