Назад

Оригинальные каталоги

zoom-in zoom-out enlarge shrink circle-right circle-left file-text2 info cart
Номер Наименование Цена
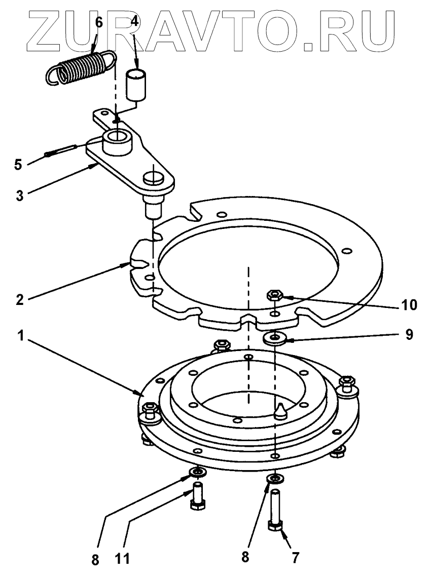
1 4700359125 Ball bearing Нет в продаже
2 4700379728 Locking disc Нет в продаже
3 4812119788 Coupling link Нет в продаже
4 4700359819 Bushing Нет в продаже
5 4700630008 Pin Нет в продаже
6 4700359043 Spring Нет в продаже
7 4700792678 Screw Нет в продаже
8 4700904229 Washer Нет в продаже
9 4700904640 Washer Нет в продаже
10 4700573008 Nut Нет в продаже
11 4700947679 Hex screw Нет в продаже
1
2
3
4
5
6
7
8
8
9
10
11
100%
Содержащиеся в справочниках-каталогах запасные части и детали носят исключительно информационный характер