Назад

Оригинальные каталоги

zoom-in zoom-out enlarge shrink circle-right circle-left file-text2 info cart
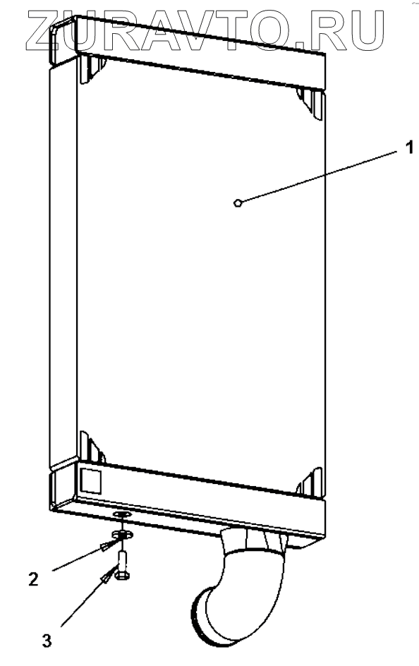
Номер Наименование Цена
1 4812124271 Charge air cooler Нет в продаже
2 4700904640 Washer Нет в продаже
3 4700500021 Hex. screw Нет в продаже
1
2
3
100%
Содержащиеся в справочниках-каталогах запасные части и детали носят исключительно информационный характер