Оригинальные каталоги
| № | Номер | Наименование | Цена | |
|---|---|---|---|---|
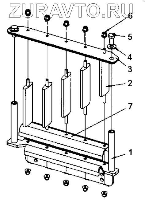
| 1 | 4700394023 | Bracket | Нет в продаже |
|
| 2 | 4700397039 | Spacer | Нет в продаже |
|
| 3 | 4700397318 | Cap | Нет в продаже |
|
| 4 | 4700904230 | Washer | Нет в продаже |
|
| 5 | 4700500048 | Hex. screw | Нет в продаже |
|
| 6 | 4700902285 | Nut | Нет в продаже |
|
| 7 | 4812110277 | Hose guard | Нет в продаже |
|
1
2
3
4
5
6
7
Содержащиеся в справочниках-каталогах запасные части и детали носят исключительно информационный характер