Оригинальные каталоги
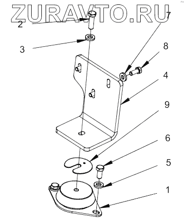
| № | Номер | Наименование | Цена | |
|---|---|---|---|---|
| 1 | 4812114631 | Shock absorber | Нет в продаже |
|
| 2 | 4700500164 | Screw | Нет в продаже |
|
| 3 | 4700904703 | Plain washer | Нет в продаже |
|
| 4 | 4812114630 | Pump bracket | Нет в продаже |
|
| 5 | 4700904703 | Plain washer | Нет в продаже |
|
| 6 | 4700500051 | Hex. screw | Нет в продаже |
|
| 7 | 4700904557 | Washer | Нет в продаже |
|
| 8 | 4700500028 | Screw | Нет в продаже |
|
| 9 | 4700395391 | Spacer | Нет в продаже |
|
1
2
3
4
5
6
7
8
9
Содержащиеся в справочниках-каталогах запасные части и детали носят исключительно информационный характер