Оригинальные каталоги
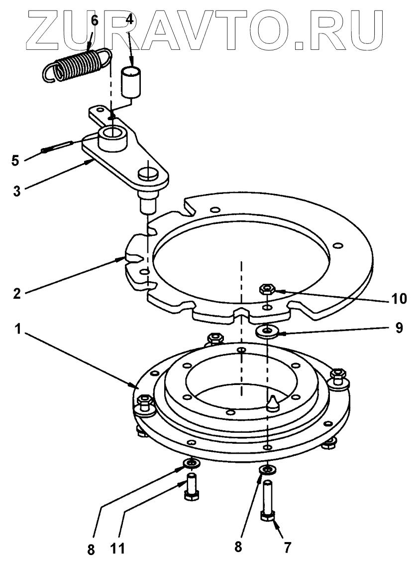
| № | Номер | Наименование | Цена | |
|---|---|---|---|---|
| 1 | 4700359125 | Ball bearing | Нет в продаже |
|
| 2 | 4700379728 | Locking disc | Нет в продаже |
|
| 3 | 4812119788 | Coupling link | Нет в продаже |
|
| 4 | 4700359819 | Bushing | Нет в продаже |
|
| 5 | 4700630008 | Pin | Нет в продаже |
|
| 6 | 4700359043 | Spring | Нет в продаже |
|
| 7 | 4700792678 | Screw | Нет в продаже |
|
| 8 | 4700904229 | Washer | Нет в продаже |
|
| 9 | 4700904640 | Washer | Нет в продаже |
|
| 10 | 4700573008 | Nut | Нет в продаже |
|
| 11 | 4700947679 | Hex screw | Нет в продаже |
|
1
2
3
4
5
6
7
8
8
9
10
11
Содержащиеся в справочниках-каталогах запасные части и детали носят исключительно информационный характер