Назад

Оригинальные каталоги

zoom-in zoom-out enlarge shrink circle-right circle-left file-text2 info cart
Номер Наименование Цена
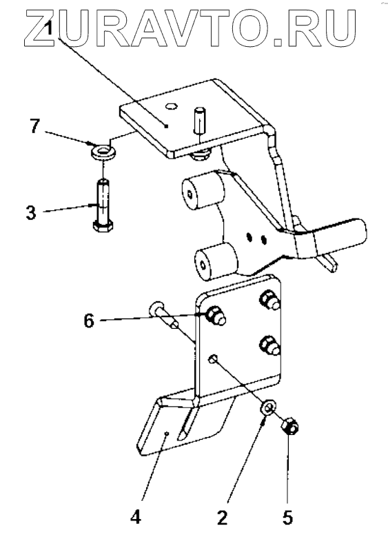
1 Cocoamatbracket Cocoa mat bracket module Нет в продаже
2 4700904229 Washer Нет в продаже
3 4700500161 Screw Нет в продаже
4 4700396940 Bracket Нет в продаже
5 4700586003 Hexagon lock nut Нет в продаже
6 4700927637 Hexagon socket countersunk screw Нет в продаже
7 4700904557 Washer Нет в продаже
1
2
3
4
5
6
7
100%
Содержащиеся в справочниках-каталогах запасные части и детали носят исключительно информационный характер