Оригинальные каталоги
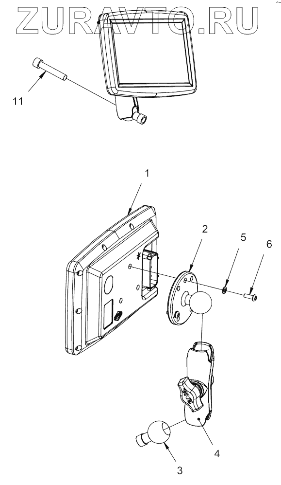
| № | Номер | Наименование | Цена | |
|---|---|---|---|---|
| 1 | 4812124136 | Display unit | Нет в продаже |
|
| 2 | 4812122978 | Ball joint | Нет в продаже |
|
| 3 | 4812122979 | Ball joint | Нет в продаже |
|
| 4 | 4812122980 | Arm | Нет в продаже |
|
| 5 | 4700904698 | Steel plain washer | Нет в продаже |
|
| 6 | 4700904289 | Screw | Нет в продаже |
|
| 11 | 4700508057 | Screw | Нет в продаже |
|
1
2
3
4
5
6
11
Содержащиеся в справочниках-каталогах запасные части и детали носят исключительно информационный характер