Оригинальные каталоги
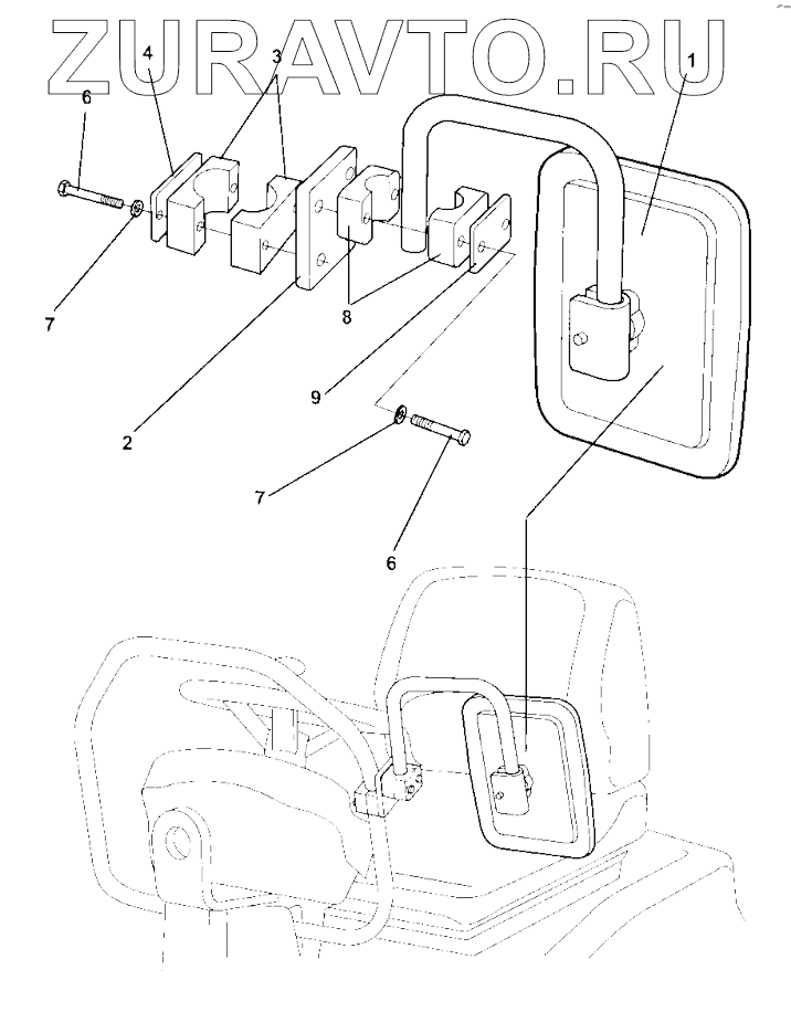
| № | Номер | Наименование | Цена | |
|---|---|---|---|---|
| 1 | 4700393204 | Rear mirror | Нет в продаже |
|
| 2 | 4812110283 | Bracket | Нет в продаже |
|
| 3 | 4700902496 | Clamp | Нет в продаже |
|
| 4 | 4700923859 | Cover plate | Нет в продаже |
|
| 6 | 4700500079 | Screw | Нет в продаже |
|
| 7 | 4700904228 | Steel plain washer | Нет в продаже |
|
| 8 | 4700791453 | Pipe clamp block | Нет в продаже |
|
| 9 | 4700791454 | Cover plate | Нет в продаже |
|
1
2
3
4
6
6
7
7
8
9
Содержащиеся в справочниках-каталогах запасные части и детали носят исключительно информационный характер