Назад

Оригинальные каталоги

zoom-in zoom-out enlarge shrink circle-right circle-left file-text2 info cart
Номер Наименование Цена
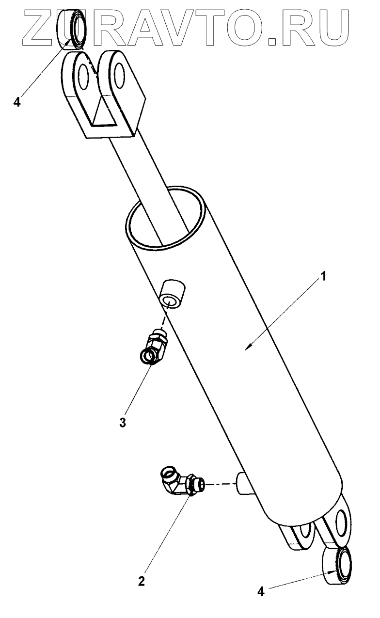
1 4812266734 Steering cylinder Нет в продаже
2 4812266735 Fitting Нет в продаже
3 4812266770 Fitting Нет в продаже
4 4700792554 Radial spherical plain bearing Нет в продаже
1
2
3
4
4
100%
Содержащиеся в справочниках-каталогах запасные части и детали носят исключительно информационный характер