Назад

Оригинальные каталоги

zoom-in zoom-out enlarge shrink circle-right circle-left file-text2 info cart
Номер Наименование Цена
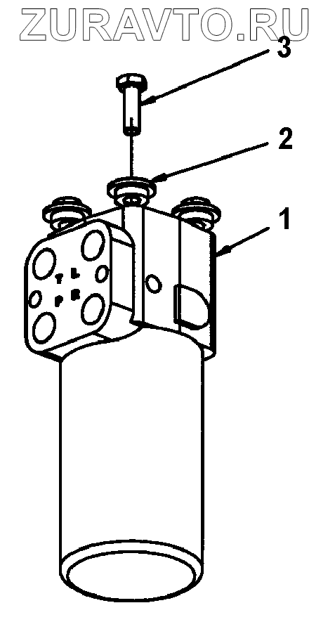
1 4812120733 Pilot valve, emergency steering Нет в продаже
2 4700904557 Washer Нет в продаже
3 4700502035 Screw Нет в продаже
1
2
3
100%
Содержащиеся в справочниках-каталогах запасные части и детали носят исключительно информационный характер