Оригинальные каталоги
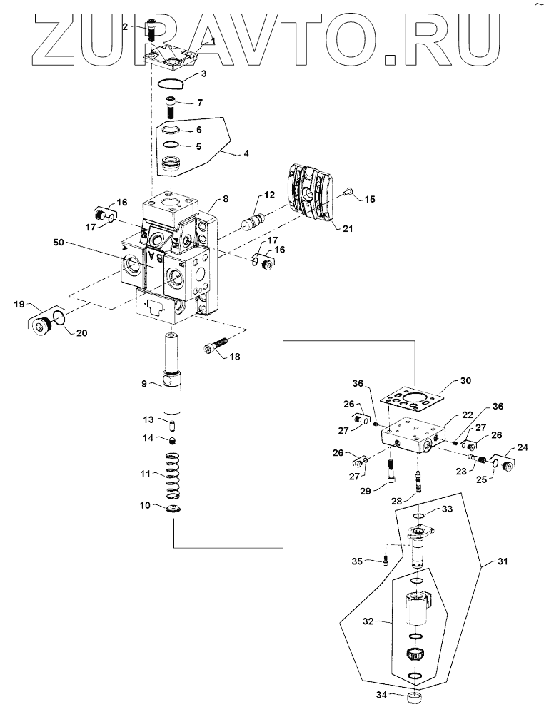
| № | Номер | Наименование | Цена | |
|---|---|---|---|---|
| 1 | Servopistoncover | Servo piston cover | Нет в продаже |
|
| 2 | Screw | Screw | Нет в продаже |
|
| 3 | 4812157065 | O-ring | Нет в продаже |
|
| 4 | Servopiston | Servo piston | Нет в продаже |
|
| 5 | 4812157066 | O-ring | Нет в продаже |
|
| 6 | 4812157067 | Piston ring | Нет в продаже |
|
| 7 | Screw | Screw | Нет в продаже |
|
| 8 | Endcap | End cap | Нет в продаже |
|
| 9 | Servopiston | Servo piston | Нет в продаже |
|
| 10 | Springguide | Spring guide | Нет в продаже |
|
| 11 | Spring | Spring | Нет в продаже |
|
| 12 | Settinglug | Setting lug | Нет в продаже |
|
| 13 | 4812157068 | Setting lug pin | Нет в продаже |
|
| 14 | Setscrew | Set screw | Нет в продаже |
|
| 15 | Buttonheadscrew | Button head screw | Нет в продаже |
|
| 16 | Plug | Plug connector see engine Gr. 9 | Нет в продаже |
|
| 17 | O-ring | O-ring | Нет в продаже |
|
| 18 | Screw | Screw | Нет в продаже |
|
| 19 | Plug | Plug connector see engine Gr. 9 | Нет в продаже |
|
| 20 | O-ring | O-ring | Нет в продаже |
|
| 21 | 4812157069 | Valve segment assembly | Нет в продаже |
|
| 22 | Controlhousing | Control housing | Нет в продаже |
|
| 23 | 4812156999 | Shuttle valve assembly | Нет в продаже |
|
| 24 | Plug | Plug connector see engine Gr. 9 | Нет в продаже |
|
| 25 | O-ring | O-ring | Нет в продаже |
|
| 26 | Plug | Plug connector see engine Gr. 9 | Нет в продаже |
|
| 27 | O-ring | O-ring | Нет в продаже |
|
| 28 | 4812157070 | Spool | Нет в продаже |
|
| 29 | Screw | Screw | Нет в продаже |
|
| 30 | Controlseal | Control seal | Нет в продаже |
|
| 31 | 4812157071 | Solenoid proportional valve | Нет в продаже |
|
| 32 | 4812157072 | Coil kit | Нет в продаже |
|
| 33 | O-ring | O-ring | Нет в продаже |
|
| 34 | Plasticcap | Plastic cap | Нет в продаже |
|
| 35 | Screw | Screw | Нет в продаже |
|
| 36 | Orificeplug | Orifice plug | Нет в продаже |
|
| 50 | Loopflushing | Loop flushing | Нет в продаже |
|
1
2
3
4
5
6
7
8
9
10
11
12
13
14
15
16
16
17
17
18
19
20
21
22
23
24
25
26
26
26
27
27
27
28
29
30
31
32
33
34
35
36
36
50
Содержащиеся в справочниках-каталогах запасные части и детали носят исключительно информационный характер