Оригинальные каталоги
| № | Номер | Наименование | Цена | |
|---|---|---|---|---|
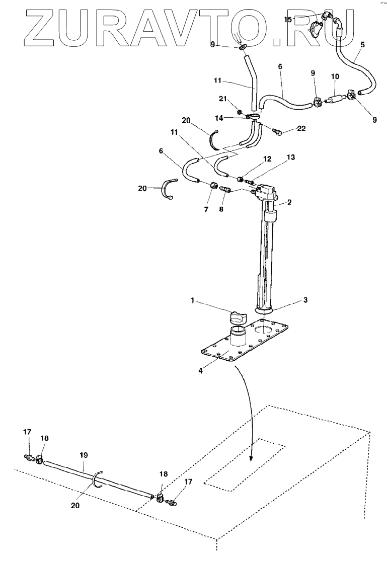
| 1 | 373460 | Fuel cap | Нет в продаже |
|
| 1 | 380436 | Fuel cap | Нет в продаже |
|
| 2 | 359485 | Level sender | Нет в продаже |
|
| 2 | 382023 | Level sender | Нет в продаже |
|
| 2 | 386058 | Level sender | Нет в продаже |
|
| 3 | 904707 | O-ring | Нет в продаже |
|
| 3 | 903712 | O-ring | Нет в продаже |
|
| 4 | Cover | Cover | Нет в продаже |
|
| 5 | 205126 | Fuel hose | Нет в продаже |
|
| 6 | 205126 | Fuel hose | Нет в продаже |
|
| 7 | 903685 | Hose connection socket | Нет в продаже |
|
| 8 | 903683 | Hose connection | Нет в продаже |
|
| 9 | 313001 | Hose clamp | Нет в продаже |
|
| 10 | 929322 | Fuel strainer | Нет в продаже |
|
| 11 | 205129 | Fuel hose | Нет в продаже |
|
| 12 | 903684 | Hose connection socket | Нет в продаже |
|
| 13 | 904211 | Hose connection | Нет в продаже |
|
| 14 | 921050 | Clamp | Нет в продаже |
|
| 15 | 234340 | Elbow 90 | Нет в продаже |
|
| 17 | 373574 | Hose connection | Нет в продаже |
|
| 18 | 313002 | Hose clamp | Нет в продаже |
|
| 19 | 244054 | Hose reinforced | Нет в продаже |
|
| 20 | 313041 | Cable ties | Нет в продаже |
|
| 21 | 603018 | Washer | Нет в продаже |
|
| 22 | 500022 | Screw | Нет в продаже |
|
1
1
1
2
2
2
2
2
3
3
3
4
5
6
6
7
8
9
9
9
10
11
11
12
13
14
15
17
17
18
18
19
20
20
20
21
22
Содержащиеся в справочниках-каталогах запасные части и детали носят исключительно информационный характер