Оригинальные каталоги
| № | Номер | Наименование | Цена | |
|---|---|---|---|---|
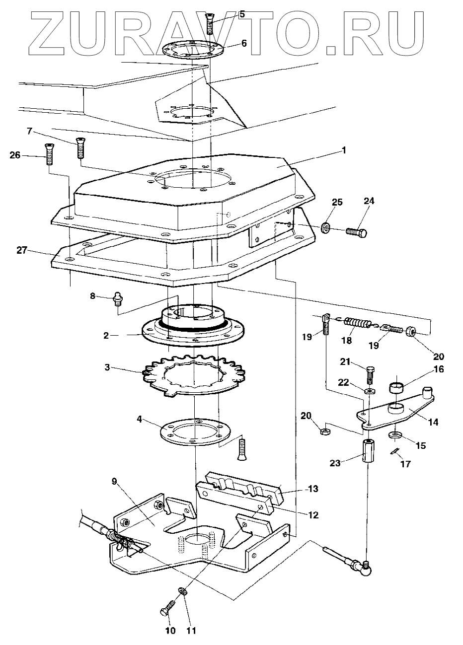
| 1 | 371374 | Bearing housing | Нет в продаже |
|
| 2 | 359125 | Ball bearing | Нет в продаже |
|
| 3 | 370955 | Locking disc | Нет в продаже |
|
| 4 | 372966 | Lock ring | Нет в продаже |
|
| 5 | 902520 | Screw | Нет в продаже |
|
| 6 | 372965 | Lock ring | Нет в продаже |
|
| 7 | 513003 | Screw | Нет в продаже |
|
| 8 | 926214 | Grease fitting | Нет в продаже |
|
| 9 | 371418 | Bracket | Нет в продаже |
|
| 10 | 508056 | Screw | Нет в продаже |
|
| 11 | 904229 | Washer 8,4x16x1,5 | Нет в продаже |
|
| 12 | 372961 | Clamp | Нет в продаже |
|
| 13 | 372671 | Clamp | Нет в продаже |
|
| 14 | 374417 | Coupling link | Нет в продаже |
|
| 15 | 904231 | Washer 13x24x2 | Нет в продаже |
|
| 16 | 359820 | Bushing | Нет в продаже |
|
| 17 | 630035 | Split pin | Нет в продаже |
|
| 18 | 359043 | Spring | Нет в продаже |
|
| 19 | 359818 | Spring collar | Нет в продаже |
|
| 20 | 573008 | Nut | Нет в продаже |
|
| 21 | 500013 | Hex. screw | Нет в продаже |
|
| 22 | 904228 | Washer 6,4x12x1,5 | Нет в продаже |
|
| 23 | 372459 | Spacer | Нет в продаже |
|
| 23 | 373547 | Spacer | Нет в продаже |
|
| 24 | 500021 | Screw | Нет в продаже |
|
| 25 | 904556 | Washer 8,4x16x3,0 | Нет в продаже |
|
| 26 | 513013 | Screw | Нет в продаже |
|
| 26 | 903644 | Screw | Нет в продаже |
|
| 27 | 372083 | Spacer | Нет в продаже |
|
1
2
3
4
5
6
7
8
9
10
11
12
13
14
15
16
17
18
19
19
20
20
21
22
23
23
23
24
25
26
26
26
27
Содержащиеся в справочниках-каталогах запасные части и детали носят исключительно информационный характер