Оригинальные каталоги
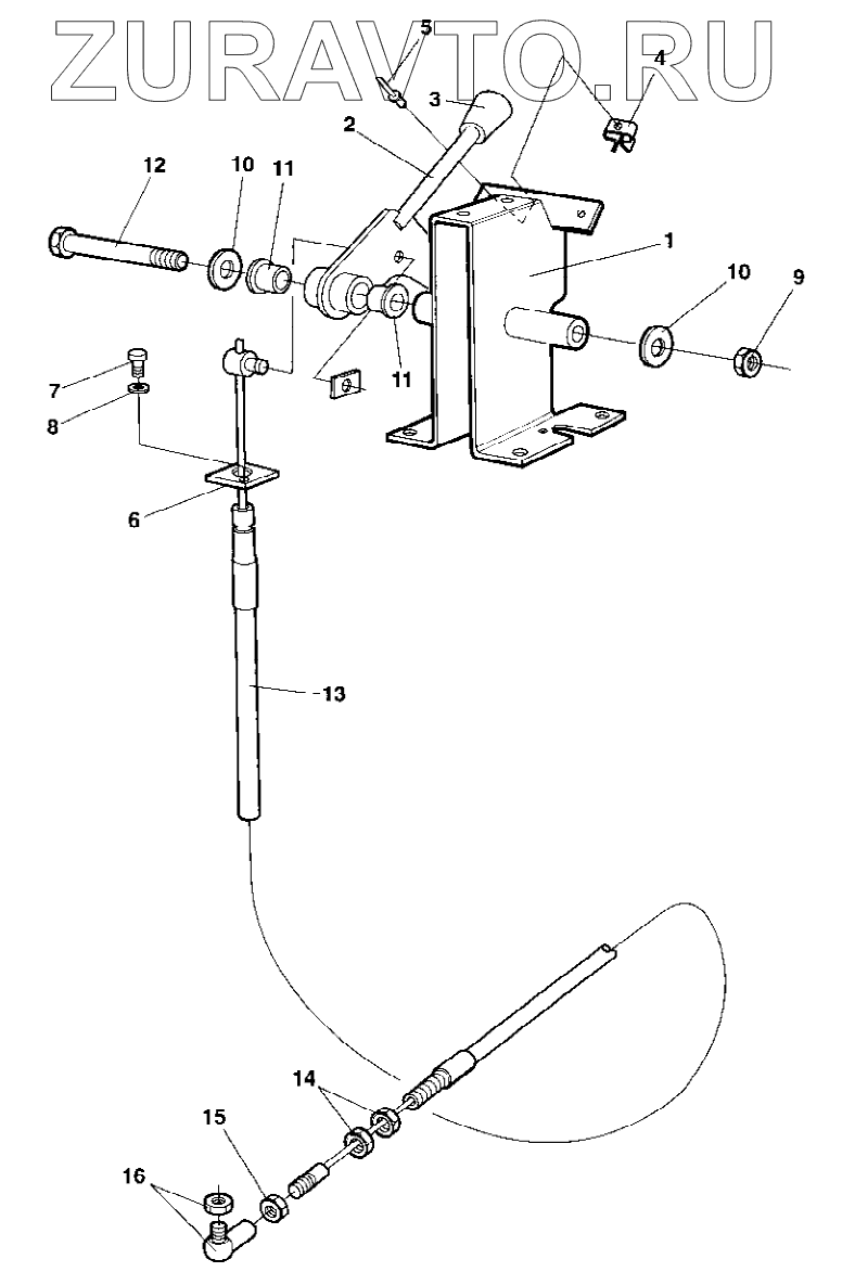
| № | Номер | Наименование | Цена | |
|---|---|---|---|---|
| 1 | 935771 | Framing | Нет в продаже |
|
| 2 | 909745 | Lever | Нет в продаже |
|
| 3 | 908190 | Ball knob | Нет в продаже |
|
| 4 | 908189 | Lever lock | Нет в продаже |
|
| 5 | 624016 | Blind rivet | Нет в продаже |
|
| 6 | 908188 | Cable holder | Нет в продаже |
|
| 7 | 533024 | Screw | Нет в продаже |
|
| 8 | 615041 | Washer 5,3x11 | Нет в продаже |
|
| 9 | 586002 | Lock nut M6 | Нет в продаже |
|
| 10 | 928381 | Washer 6,4x18x1,6 | Нет в продаже |
|
| 11 | 908187 | Plain bearing | Нет в продаже |
|
| 12 | 500169 | Screw | Нет в продаже |
|
| 13 | 935774 | Cable, cpl | Нет в продаже |
|
| 14 | 927233 | .Nut | Нет в продаже |
|
| 15 | 570004 | Hex. nut | Нет в продаже |
|
| 16 | 416034 | Ball joint | Нет в продаже |
|
1
2
3
4
5
6
7
8
9
10
10
11
11
12
13
14
15
16
Содержащиеся в справочниках-каталогах запасные части и детали носят исключительно информационный характер