Назад

Оригинальные каталоги

zoom-in zoom-out enlarge shrink circle-right circle-left file-text2 info cart
Номер Наименование Цена
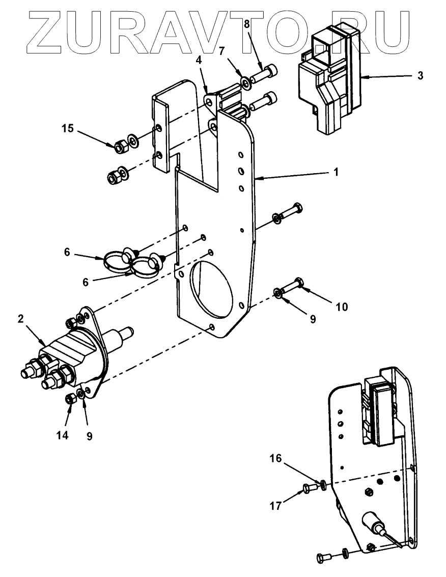
1 4812116738 Holder Нет в продаже
2 4700903640 Battery switch Нет в продаже
2 4700903641 Key Нет в продаже
3 4812111981 Fuse holder Нет в продаже
4 4812112000 Fuse holder Нет в продаже
6 4700792441 Cable tie with holder Нет в продаже
7 4700904229 Washer Нет в продаже
8 4700508019 Cylinder screw Нет в продаже
9 4700904228 Steel plain washer Нет в продаже
10 4700500075 Screw, Нет в продаже
14 4700586002 Lock nut Нет в продаже
15 4700586003 Hexagon lock nut Нет в продаже
16 4700904556 Steel plain washer Нет в продаже
17 4700500019 Hex. screw Нет в продаже
1
2
2
3
4
6
6
7
8
9
9
10
14
15
16
17
100%
Содержащиеся в справочниках-каталогах запасные части и детали носят исключительно информационный характер