Назад

Оригинальные каталоги

zoom-in zoom-out enlarge shrink circle-right circle-left file-text2 info cart
Номер Наименование Цена
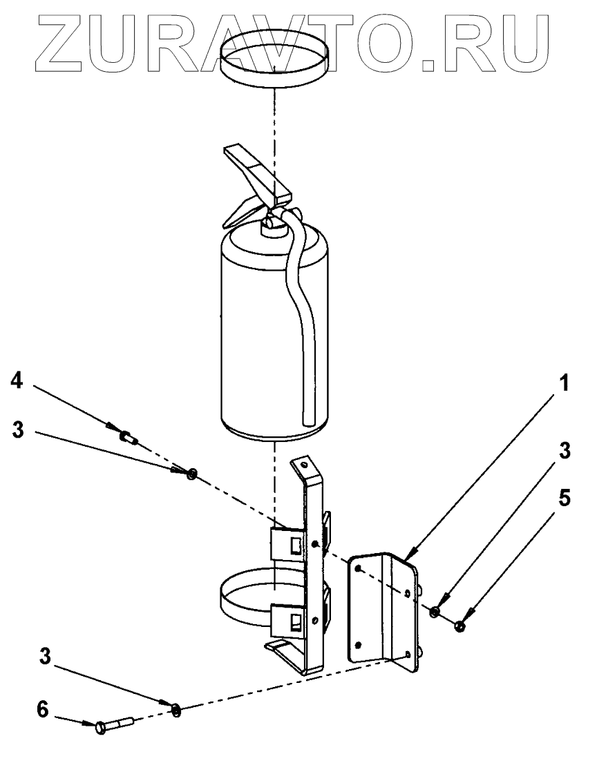
1 4812114804 Bracket Нет в продаже
3 4700904229 Washer Нет в продаже
4 4700500021 Hex. screw Нет в продаже
5 4700570005 Hex. nut Нет в продаже
6 4700500024 Screw Нет в продаже
1
3
3
3
4
5
6
100%
Содержащиеся в справочниках-каталогах запасные части и детали носят исключительно информационный характер