Оригинальные каталоги
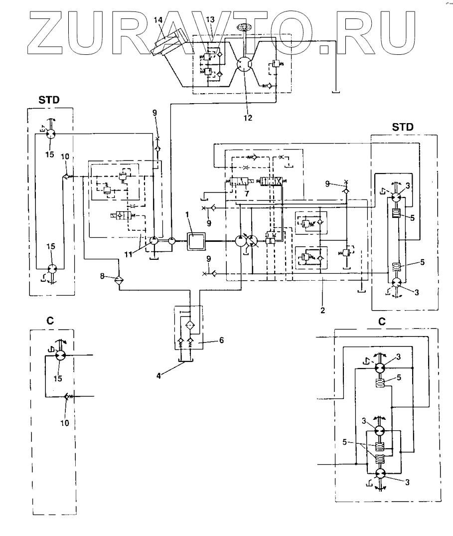
| № | Номер | Наименование | Цена | |
|---|---|---|---|---|
| 1 | Dieselengine | Diesel engine | Нет в продаже |
|
| 2 | Propulsionpump | Propulsion pump | Нет в продаже |
|
| 3 | Propulsionmotor | Propulsion motor | Нет в продаже |
|
| 4 | Hydraulictank | Hydraulic tank | Нет в продаже |
|
| 5 | Brake | Brake | Нет в продаже |
|
| 6 | Filter | Filter | Нет в продаже |
|
| 7 | Brakevalve | Brake valve | Нет в продаже |
|
| 8 | Oilcooler | Oil cooler | Нет в продаже |
|
| 9 | Measuringnipple | Measuring nipple | Нет в продаже |
|
| 10 | Checkvalve | Check valve | Нет в продаже |
|
| 11 | Vibrationpump | Vibration pump, Housing | Нет в продаже |
|
| 12 | Steeringvalve | Steering valve | Нет в продаже |
|
| 13 | Valveblock | Valve block, cpl | Нет в продаже |
|
| 14 | Steeringcylinder | Steering cylinder, cpl | Нет в продаже |
|
| 15 | Steeringcylinder | Steering cylinder, cpl | Нет в продаже |
|
1
2
3
3
3
3
3
4
5
5
5
5
6
7
8
9
9
9
9
10
10
11
12
13
14
15
15
15
Содержащиеся в справочниках-каталогах запасные части и детали носят исключительно информационный характер