Оригинальные каталоги
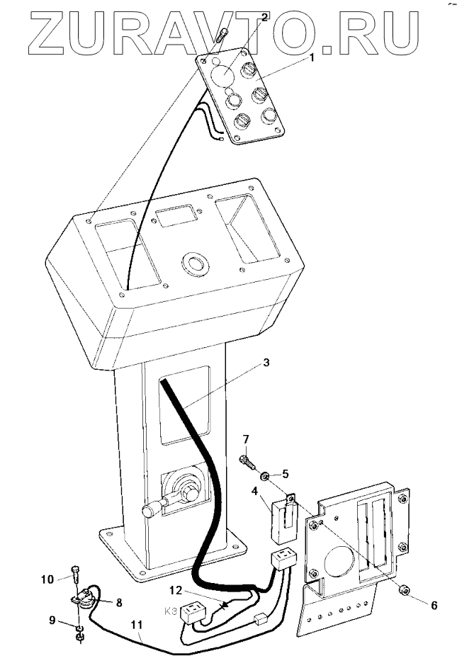
| № | Номер | Наименование | Цена | |
|---|---|---|---|---|
| 1 | Plate | Plate | Нет в продаже |
|
| 2 | Emergencystop | Emergency stop | Нет в продаже |
|
| 3 | 4700393808 | Cable harness | Нет в продаже |
|
| 4 | 4700792548 | Delay relay | Нет в продаже |
|
| 5 | 4700904281 | Washer | Нет в продаже |
|
| 6 | 4700586001 | Lock nut | Нет в продаже |
|
| 7 | 4700533025 | Screw | Нет в продаже |
|
| 8 | 4700999027 | Horn | Нет в продаже |
|
| 9 | 4700904734 | Washer | Нет в продаже |
|
| 10 | 4700500022 | Hex. screw | Нет в продаже |
|
| 11 | 4700377697 | Cable harness | Нет в продаже |
|
| 12 | 4700903593 | Diode | Нет в продаже |
|
1
2
3
4
5
6
7
8
9
10
11
12
Содержащиеся в справочниках-каталогах запасные части и детали носят исключительно информационный характер