Оригинальные каталоги
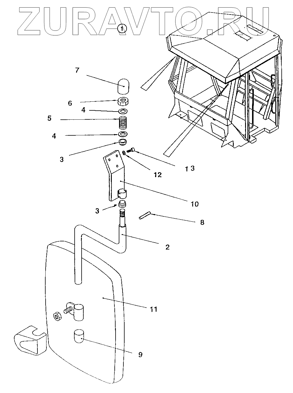
| № | Номер | Наименование | Цена | |
|---|---|---|---|---|
| 1 | 371730 | Rear mirror | Нет в продаже |
|
| 2 | 908355 | Arm | Нет в продаже |
|
| 3 | 908625 | Sleeve | Нет в продаже |
|
| 4 | 904232 | Washer 17x30x3 | Нет в продаже |
|
| 5 | 908626 | Spring | Нет в продаже |
|
| 6 | 586021 | Nut M16 | Нет в продаже |
|
| 7 | 908627 | Cap | Нет в продаже |
|
| 8 | 629066 | Spirol pin | Нет в продаже |
|
| 9 | 908623 | Bracket | Нет в продаже |
|
| 10 | 908361 | Bracket | Нет в продаже |
|
| 11 | 908265 | Rear mirror | Нет в продаже |
|
| 12 | 904229 | Washer 8,4x16x1,5 | Нет в продаже |
|
| 13 | 500019 | Screw | Нет в продаже |
|
1
2
3
3
4
4
5
6
7
8
9
10
11
12
13
Содержащиеся в справочниках-каталогах запасные части и детали носят исключительно информационный характер