Назад

Оригинальные каталоги

zoom-in zoom-out enlarge shrink circle-right circle-left file-text2 info cart
Номер Наименование Цена
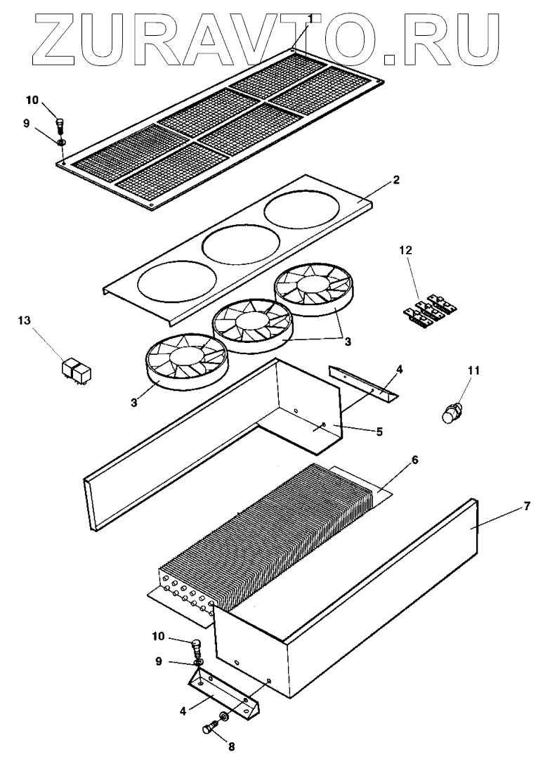
1 384589 Cover Нет в продаже
2 938599 Fan bracket Нет в продаже
3 938603 Fan Нет в продаже
4 938600 Condensor bracket Нет в продаже
5 938598 Cover Нет в продаже
6 938602 Condensor Coil Нет в продаже
7 938597 Cover Нет в продаже
8 901832 Screw Нет в продаже
9 500022 Screw Нет в продаже
10 904229 Washer 8,4x16x1,5 Нет в продаже
11 938605 Pressure switch Нет в продаже
12 938606 Resistor Нет в продаже
13 287598 Relay Нет в продаже
1
2
3
3
4
4
5
6
7
8
9
9
10
10
11
12
13
100%
Содержащиеся в справочниках-каталогах запасные части и детали носят исключительно информационный характер