Оригинальные каталоги
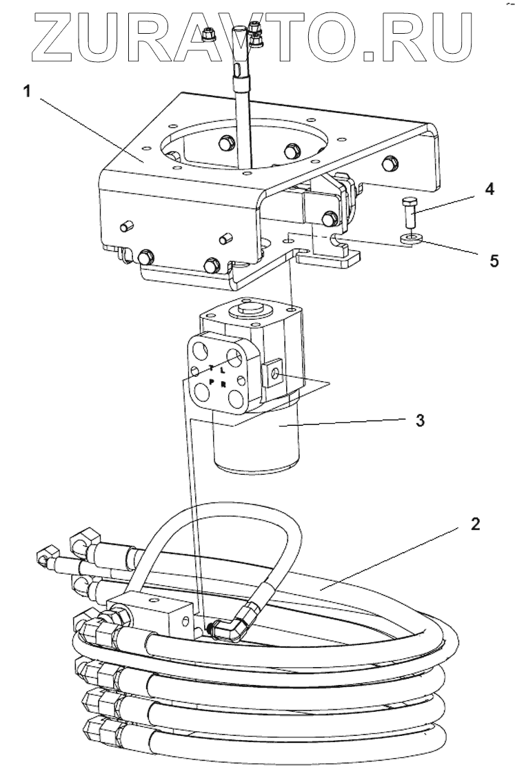
| № | Номер | Наименование | Цена | |
|---|---|---|---|---|
| 1 | Carrier | Carrier | Нет в продаже |
|
| 2 | Steering,slideable | Steering, slideable | Нет в продаже |
|
| 3 | 4700372424 | Pilot valve, steering | Нет в продаже |
|
| 3 | 4812120733 | Pilot valve, emergency steering | Нет в продаже |
|
| 3 | 4700935429 | Seal kit | Нет в продаже |
|
| 4 | 4700502035 | Screw | Нет в продаже |
|
| 5 | 4700904557 | Washer | Нет в продаже |
|
1
2
3
3
3
4
5
Содержащиеся в справочниках-каталогах запасные части и детали носят исключительно информационный характер