Назад

Оригинальные каталоги

zoom-in zoom-out enlarge shrink circle-right circle-left file-text2 info cart
Номер Наименование Цена
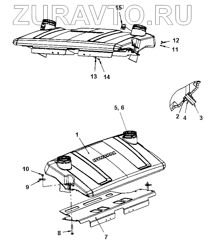
1 4700393330 Sprinkler tank Нет в продаже
2 4700392231 Plane gasket Нет в продаже
3 4700392230 Grommet Нет в продаже
4 4700392232 Nut Нет в продаже
5 4700359003 Tank Cap Нет в продаже
6 4700358846 Strainer Нет в продаже
7 4700394323 Support plate Нет в продаже
8 4700904405 Screw Нет в продаже
9 4700392003 Holder Нет в продаже
10 4700902289 Nut Нет в продаже
11 4700904703 Plain washer Нет в продаже
12 4700500046 Hex. head screw Нет в продаже
13 4700904230 Washer Нет в продаже
14 4700500029 Hex. screw Нет в продаже
15 4700991657 Decal WATER Нет в продаже
1
2
3
4
5
6
7
8
9
10
11
12
13
14
15
100%
Содержащиеся в справочниках-каталогах запасные части и детали носят исключительно информационный характер