Оригинальные каталоги
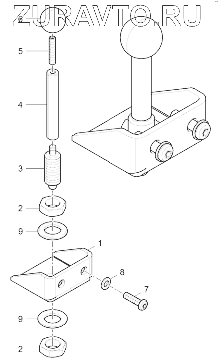
| № | Номер | Наименование | Цена | |
|---|---|---|---|---|
| 1 | 4812228683 | Mounting bracket | Нет в продаже |
|
| 2 | D937181123 | Nut | Нет в продаже |
|
| 3 | D930404670 | Stop bolt | Нет в продаже |
|
| 4 | 4812228685 | Connector | Нет в продаже |
|
| 5 | D937948554 | Threaded pin | Нет в продаже |
|
| 6 | D930298018 | Ball knob | Нет в продаже |
|
| 7 | D939142413 | Round head screw | Нет в продаже |
|
| 8 | 0301233500 | Plain washer | Нет в продаже |
|
| 9 | 0300027413 | Washer | Нет в продаже |
|
1
2
2
3
4
5
6
7
8
9
9
Содержащиеся в справочниках-каталогах запасные части и детали носят исключительно информационный характер