Назад

Оригинальные каталоги

zoom-in zoom-out enlarge shrink circle-right circle-left file-text2 info cart
Номер Наименование Цена
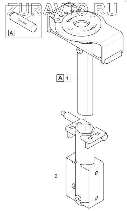
1 4812228566 Retainer Нет в продаже
2 4812230888 Hollow profile Нет в продаже
3 4812030095 Grease / 1 cartridge Нет в продаже
1
2
3
100%
Содержащиеся в справочниках-каталогах запасные части и детали носят исключительно информационный характер