Оригинальные каталоги
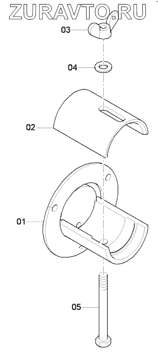
| № | Номер | Наименование | Цена | |
|---|---|---|---|---|
| 1 | 4812043251 | Retainer | Нет в продаже |
|
| 2 | 4812043248 | Clamping | Нет в продаже |
|
| 3 | 4749900633 | Nut | Нет в продаже |
|
| 4 | 0302127405 | Flat washer | Нет в продаже |
|
| 5 | 0147137703 | Screw | Нет в продаже |
|
1
2
3
4
5
Содержащиеся в справочниках-каталогах запасные части и детали носят исключительно информационный характер