Назад

Оригинальные каталоги

zoom-in zoom-out enlarge shrink circle-right circle-left file-text2 info cart
Номер Наименование Цена
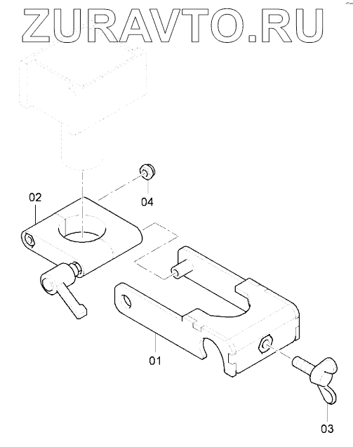
1 4812228324 Holding device Нет в продаже
2 4730013408 Clamp Нет в продаже
3 0223195716 Butterfly screw Нет в продаже
4 0291111000 Lock nut Нет в продаже
1
2
3
4
100%
Содержащиеся в справочниках-каталогах запасные части и детали носят исключительно информационный характер