Оригинальные каталоги
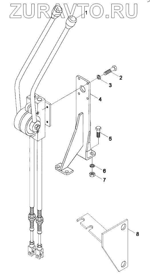
| № | Номер | Наименование | Цена | |
|---|---|---|---|---|
| 1 | 9B650-83A010000A0 | Change control set | Нет в продаже |
|
| 2 | GBT5783-M6x16-8.8-A2L | Hex bolt | Нет в продаже |
|
| 3 | GBT93-6-A0P | Spring washer | Нет в продаже |
|
| 4 | 9B650-83A020000A0 | Bracket assembly | Нет в продаже |
|
| 5 | GBT5783-M10x30-8.8-A3L | Hex bolt | Нет в продаже |
|
| 6 | GBT93-10-A0P | Washer | Нет в продаже |
|
| 7 | GBT6170-M10-A3L | Nut | Нет в продаже |
|
| 8 | 9B650-83A030000A0 | Support | Нет в продаже |
|
1
2
3
4
5
6
7
8
Содержащиеся в справочниках-каталогах запасные части и детали носят исключительно информационный характер