Оригинальные каталоги
| № | Номер | Наименование | Цена | |
|---|---|---|---|---|
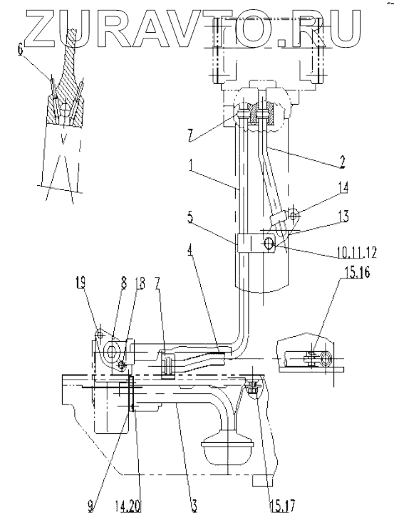
| 1 | M8N7318+A | Tube as. | Нет в продаже |
|
| 2 | M8N7315+A | Tube as. | Нет в продаже |
|
| 3 | M19AB001+A | Bell as. | Нет в продаже |
|
| 4 | M2P1739+A | Tube as. | Нет в продаже |
|
| 5 | 4L3641+A | Clip head | Нет в продаже |
|
| 6 | 2S1541+A | Piston cooling nozzle | Нет в продаже |
|
| 7 | 1142687+A | O ring | Нет в продаже |
|
| 8 | M2M5407+A | Washer | Нет в продаже |
|
| 9 | M8M0904+A | Washer | Нет в продаже |
|
| 10 | M1L5081+A | Spacer | Нет в продаже |
|
| 11 | B00000520 | Hexagon bolt | Нет в продаже |
|
| 12 | B00001275 | Washer-hard | Нет в продаже |
|
| 13 | M7F7590+A | Washer | Нет в продаже |
|
| 14 | 19AL601+A | Bolt | Нет в продаже |
|
| 15 | B00000501 | Hexagon bolt | Нет в продаже |
|
| 16 | M0L0364+A | Washer | Нет в продаже |
|
| 17 | M5H3204+A | Washer | Нет в продаже |
|
| 18 | B00000526 | Hexagon bolt | Нет в продаже |
|
| 19 | B00000510 | Hexagon bolt | Нет в продаже |
|
| 20 | M8S8874+A | Thrust washer | Нет в продаже |
|
1
2
3
4
5
6
7
7
8
9
10
11
12
13
14
14
15
15
16
17
18
19
20
Содержащиеся в справочниках-каталогах запасные части и детали носят исключительно информационный характер