Оригинальные каталоги
| № | Номер | Наименование | Цена | |
|---|---|---|---|---|
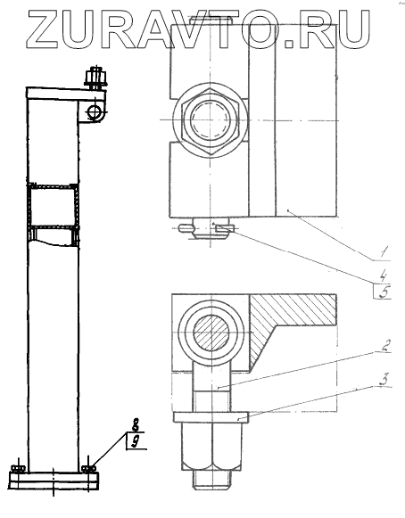
| ЛБУ-12-6 | ЛБУ-12-6 | Башмак в сборе | Нет в продаже |
|
| 1 | ЛБУ-12-111 | Башмак | Нет в продаже |
|
| 2 | ВМ20-6gx9058.019 | Болт ВМ20-6gx9058.019 | Нет в продаже |
|
| 3 | 7003-0306 | Гайка 7003-0306 | Нет в продаже |
|
| 4 | 6-18b12х110 | Ось 6-18b12х110.Ст.3сп.Ц9хр.бцв | Нет в продаже |
|
| 5 | 4х32.019 | Шплинт 4х32.019 | Нет в продаже |
|
| 8 | Болт М12-6gx25.56.019 | Болт М12-6gx25.56.019 | Нет в продаже |
|
| 9 | Шайба 12.65Г.019 | Шайба 12.65Г.019 | Нет в продаже |
|
ЛБУ-12-6
1
2
3
4
5
8
9
Содержащиеся в справочниках-каталогах запасные части и детали носят исключительно информационный характер