Оригинальные каталоги
| № | Номер | Наименование | Цена | |
|---|---|---|---|---|
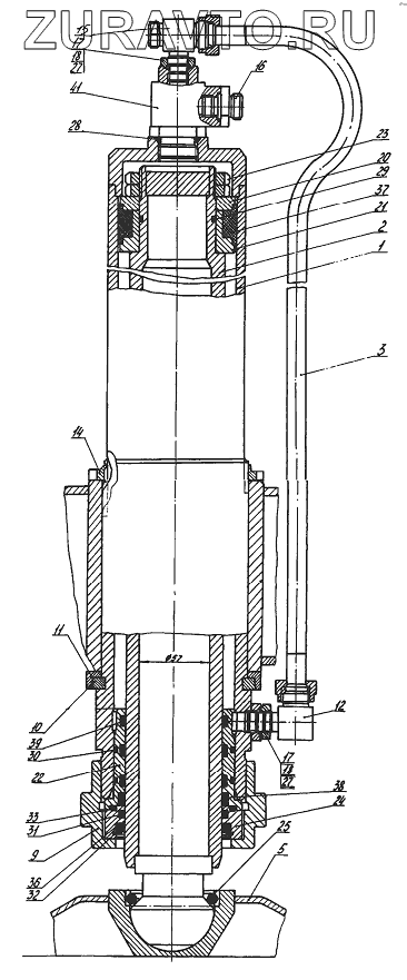
| ЛБУ50.21.00.000 | ЛБУ50.21.00.000 | Домкрат | Нет в продаже |
|
| 1 | ЛБУ50.21.01.000 | Корпус в сборе | Нет в продаже |
|
| 2 | Ш4.20.08.020 | Шток в сборе | Нет в продаже |
|
| 3 | Ш4.20.08.030 | Трубопровод в сборе | Нет в продаже |
|
| 5 | ЛБУ-21-2 | Башмак | Нет в продаже |
|
| 9 | Ш4.20.08.001 | Гайка цилиндра | Нет в продаже |
|
| 10 | Ш4.20.08.002 | Кольцо упорное | Нет в продаже |
|
| 11 | Ш4.20.08.003 | Кольцо | Нет в продаже |
|
| 12 | Ш4.20.08.004 | Угольник | Нет в продаже |
|
| 14 | Ш4.20.01.006 | Гайка | Нет в продаже |
|
| 15 | УБВ227.15.01.004 | Тройник | Нет в продаже |
|
| 16 | УБВ227.15.01.005 | Штуцер | Нет в продаже |
|
| 17 | УБВ227.15.01.008 | Гайка установочная | Нет в продаже |
|
| 18 | УБВ227.15.01.009 | Шайба защитная | Нет в продаже |
|
| 20 | ГЕУ001.09.00.002 | Кольцо поршня | Нет в продаже |
|
| 21 | ГЕУ001.09.00.003 | Втулка поршня | Нет в продаже |
|
| 22 | Ш4.20.08.006 | Втулка цилиндра | Нет в продаже |
|
| 23 | ГЕУ001.01.00.001 | Гайка М64х2 | Нет в продаже |
|
| 24 | Ш4.20.08.005 | Втулка | Нет в продаже |
|
| 25 | ЛБУ-21-02 | Кольцо | Нет в продаже |
|
| 27 | Кольцо 015-019-25-2-2 | Кольцо 015-019-25-2-2 | Нет в продаже |
|
| 28 | Кольцо 030-035-30-2-2 | Кольцо 030-035-30-2-2 | Нет в продаже |
|
| 29 | Кольцо 059-065-36-2-2 | Кольцо 059-065-36-2-2 | Нет в продаже |
|
| 30 | Кольцо 094-100-36-2-2 | Кольцо 094-100-36-2-2 | Нет в продаже |
|
| 31 | Кольцо 080-088-46 | Кольцо 080-088-46 | Нет в продаже |
|
| 32 | Кольцо В95 | Кольцо В95 | Нет в продаже |
|
| 33 | Кольцо 100-108-46-2-2 | Кольцо 100-108-46-2-2 | Нет в продаже |
|
| 36 | SWP В095 | Грязесъемник | Нет в продаже |
|
| 37 | DBM 393 295 | Манжета | Нет в продаже |
|
| 38 | RU 3400-800-2-22 | Манжета | Нет в продаже |
|
| 39 | 1/GT 80х85-9,7/102 | Кольцо | Нет в продаже |
|
| 41 | 541.08.00 | Гидрозамок | Нет в продаже |
|
ЛБУ50.21.00.000
1
2
3
5
9
10
11
12
14
15
16
17
17
18
18
20
21
22
23
24
25
27
27
28
29
30
31
32
33
36
37
38
39
41
Содержащиеся в справочниках-каталогах запасные части и детали носят исключительно информационный характер