Оригинальные каталоги
| № | Номер | Наименование | Цена | |
|---|---|---|---|---|
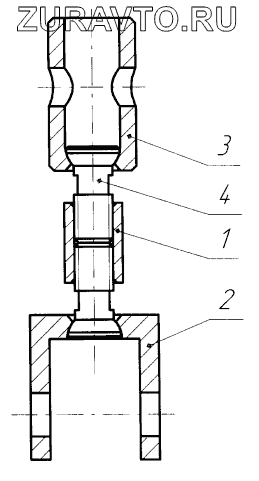
| БП.00.600 | БП.00.600 | Элеватор для шнеков | Нет в продаже |
|
| 1 | БИ7.87.00.003 | Гайка | Нет в продаже |
|
| 2 | БИ7.170.00.001 | Серьга | Нет в продаже |
|
| 3 | БП.00.601 | Хвостовик | Нет в продаже |
|
| 4 | БП.00.602 | Шарнир | Нет в продаже |
|
БП.00.600
1
2
3
4
Содержащиеся в справочниках-каталогах запасные части и детали носят исключительно информационный характер