Оригинальные каталоги
| № | Номер | Наименование | Цена | |
|---|---|---|---|---|
| ББУ.01.400 | ББУ.01.400 | Натяжитель | Нет в продаже |
|
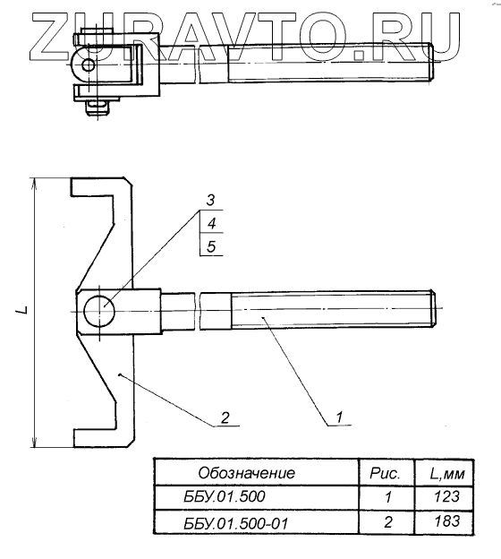
| ББУ.01.500-01 | ББУ.01.500-01 | Блок звездочек | Нет в продаже |
|
| ББУ.01.500 | ББУ.01.500 | Блок звездочек | Нет в продаже |
|
| ББУ.01.400-01 | ББУ.01.400-01 | Натяжитель | Нет в продаже |
|
| 1 | ББУ.01.401 | Вилка | Нет в продаже |
|
| 2 | ББУ.01.402 | Коромысло | Нет в продаже |
|
| 2 | ББУ.01.402-01 | Коромысло | Нет в продаже |
|
| 3 | Ось 6-10h11х36.40Х.1.Ц9 | Ось 6-10h11х36.40Х.1.Ц9 | Нет в продаже |
|
| 4 | Шайба 10.01.019 | Шайба 10.01.019 | Нет в продаже |
|
| 5 | Шплинт 3.2х20.019 | Шплинт 3.2х20.019 | Нет в продаже |
|
ББУ.01.400
ББУ.01.500-01
ББУ.01.500
ББУ.01.400-01
1
2
2
3
4
5
Содержащиеся в справочниках-каталогах запасные части и детали носят исключительно информационный характер