Оригинальные каталоги
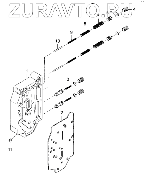
| № | Номер | Наименование | Цена | |
|---|---|---|---|---|
| 1 | 1294229 | VALVE PLATE | Нет в продаже |
|
| 2 | 1293583 | SEALING | Нет в продаже |
|
| 3 | 1261797 | SPRING | Нет в продаже |
|
| 4 | 304530 | BUNG | Нет в продаже |
|
| 5 | 252689 | O-RING SEAL | Нет в продаже |
|
| 7 | 1293648 | COMPRESSION SPRING | Нет в продаже |
|
| 8 | 305138 | SPRING | Нет в продаже |
|
| g | 1261789 | SPRING | Нет в продаже |
|
| 10 | 2049247 | PIN | Нет в продаже |
|
| 11 | 304522 | BUNG | Нет в продаже |
|
1
2
3
4
5
7
8
g
10
11
Содержащиеся в справочниках-каталогах запасные части и детали носят исключительно информационный характер