Оригинальные каталоги
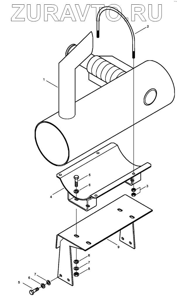
| № | Номер | Наименование | Цена | |
|---|---|---|---|---|
| 1 | H342300200 | Muffler Assy | Нет в продаже |
|
| 2 | H342301400 | U-Bolt | Нет в продаже |
|
| 3 | N02/3570206 | Nut, Hex. | Нет в продаже |
|
| 4 | H342301500 | Bracket, | Нет в продаже |
|
| 5 | N01/0232846 | Bolt, Hex. | Нет в продаже |
|
| 6 | N03/1310012 | Washer, Spr. | Нет в продаже |
|
| 7 | N03/0100023 | Washer, Pln. | Нет в продаже |
|
| 8 | N02/3570242 | Nut, Hex. | Нет в продаже |
|
| 9 | H342301800 | Bracket | Нет в продаже |
|
1
2
3
4
5
5
6
6
6
7
7
8
9
Содержащиеся в справочниках-каталогах запасные части и детали носят исключительно информационный характер