Оригинальные каталоги
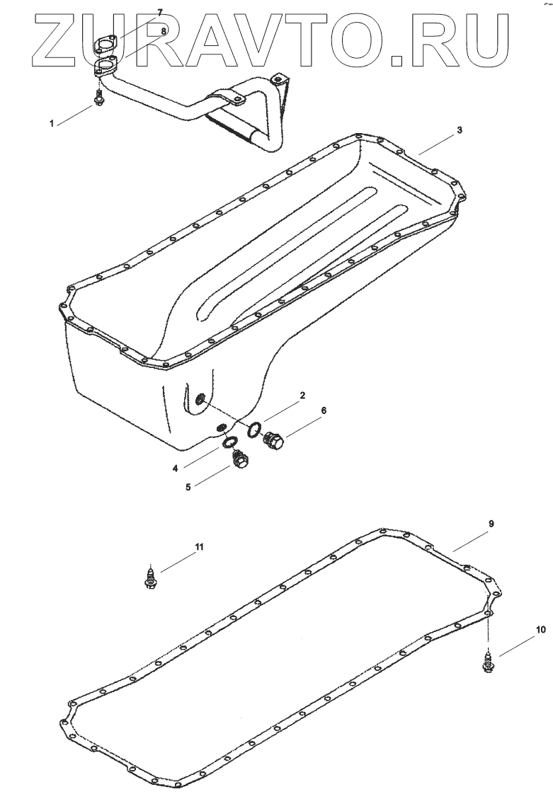
| № | Номер | Наименование | Цена | |
|---|---|---|---|---|
| 1 | Screw | Screw | Нет в продаже |
|
| 2 | Washer | Washer | Нет в продаже |
|
| 3 | Pan | Pan, Oil | Нет в продаже |
|
| 4 | Washer | Washer | Нет в продаже |
|
| 5 | Plug | Plug | Нет в продаже |
|
| 6 | Plug | Plug | Нет в продаже |
|
| 7 | Gasket | Gasket | Нет в продаже |
|
| 8 | Connection | Connection | Нет в продаже |
|
| 9 | H349001374 | Gasket, Oil Pan | Нет в продаже |
|
| 10 | Screw | Screw | Нет в продаже |
|
| 11 | Screw | Screw | Нет в продаже |
|
1
2
3
4
5
6
7
8
9
10
11
Содержащиеся в справочниках-каталогах запасные части и детали носят исключительно информационный характер