Оригинальные каталоги
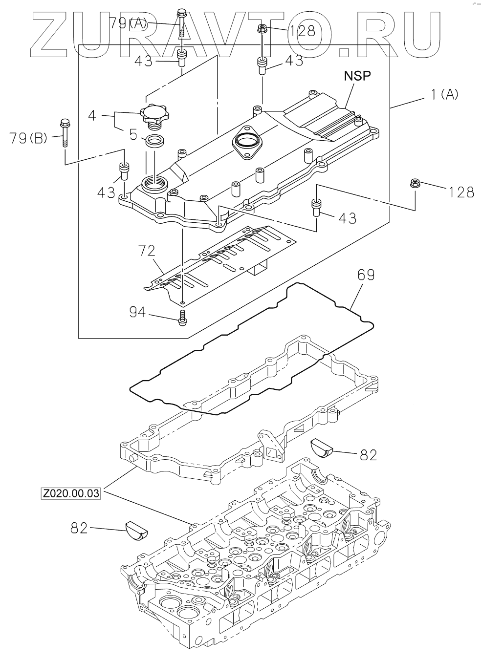
| № | Номер | Наименование | Цена | |
|---|---|---|---|---|
| 1A | H349004098 | COVER ASSY | Нет в продаже |
|
| 4 | H349004076 | CAP, FILLER | Нет в продаже |
|
| 5 | H349004075 | GASKET | Нет в продаже |
|
| 43 | H349004160 | RUBBER PART | Нет в продаже |
|
| 69 | H349004092 | GASKET | Нет в продаже |
|
| 72 | H349004161 | PLATE | Нет в продаже |
|
| 79A | H349004162 | BOLT | Нет в продаже |
|
| 79B | H349004163 | BOLT | Нет в продаже |
|
| 82 | H349004164A | PLUG | Нет в продаже |
|
| 94 | H349004165 | SCREW | Нет в продаже |
|
| 128 | H349004166 | NUT | Нет в продаже |
|
1A
4
5
43
43
43
43
69
72
79A
79B
82
82
94
128
128
Содержащиеся в справочниках-каталогах запасные части и детали носят исключительно информационный характер