Оригинальные каталоги
| № | Номер | Наименование | Цена | |
|---|---|---|---|---|
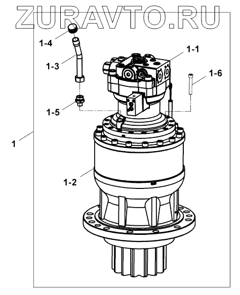
| 1 | H253001902 | Swing Unit | Нет в продаже |
|
| 1-1 | H253002002 | Swing Motor Ass'y | Нет в продаже |
|
| 1-2 | H253002100 | Reduction Gear | Нет в продаже |
|
| 1-3 | H253005000 | PIPE W.A. | Нет в продаже |
|
| 1-4 | H253005300 | COVER | Нет в продаже |
|
| 1-5 | N16K440304 | ADAPTER | Нет в продаже |
|
| 1-6 | N015891166 | BOLT | Нет в продаже |
|
1
1-1
1-2
1-3
1-4
1-5
1-6
Содержащиеся в справочниках-каталогах запасные части и детали носят исключительно информационный характер