Оригинальные каталоги
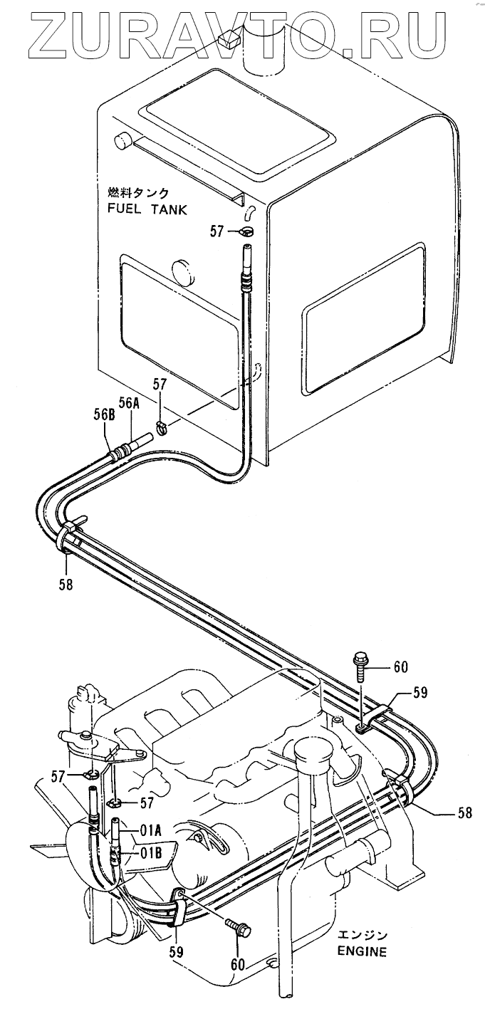
| № | Номер | Наименование | Цена | |
|---|---|---|---|---|
| 01A | 4271779 | HOSE, FUEL | Нет в продаже |
|
| 01A | 4336636 | HOSE, FUEL | Нет в продаже |
|
| 01B | 4276107 | TUBE | Нет в продаже |
|
| 56A | 4075190 | HOSE, FUEL | Нет в продаже |
|
| 56A | 4201837 | HOSE, FUEL | Нет в продаже |
|
| 56B | 4276108 | TUBE | Нет в продаже |
|
| 57 | 4514700 | CLIP, HOSE | Нет в продаже |
|
| 58 | 4055312 | CLIP, BAND | Нет в продаже |
|
| 59 | 4192034 | CLIP | Нет в продаже |
|
| 60 | J011020 | BOLT, SEMS | Нет в продаже |
|
01A
01A
01B
56A
56A
56B
57
57
57
57
58
58
59
59
60
60
Содержащиеся в справочниках-каталогах запасные части и детали носят исключительно информационный характер