Оригинальные каталоги
| № | Номер | Наименование | Цена | |
|---|---|---|---|---|
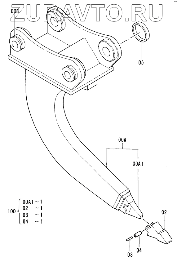
| 9107754 | 9107754 | ONE-POINT RIPPER ASSY | Нет в продаже |
|
| 9107753 | 9107753 | RIPPER | Нет в продаже |
|
| 6012320 | 6012320 | RIPPER | Нет в продаже |
|
| 971376 | 971376 | NOSE | Нет в продаже |
|
| 4197033 | 4197033 | STOPPER | Нет в продаже |
|
| 2 | 971377 | POINT, TOOTH | Нет в продаже |
|
| 3 | 971378 | PIN | Нет в продаже |
|
| 4 | 971379 | BUSHING, RUBBER | Нет в продаже |
|
| 5 | 4175071 | SPACER | Нет в продаже |
|
| 100 | 9042616 | KIT, POINT | Нет в продаже |
|
9107754
9107753
6012320
971376
971376
4197033
2
2
3
3
4
4
5
100
Содержащиеся в справочниках-каталогах запасные части и детали носят исключительно информационный характер