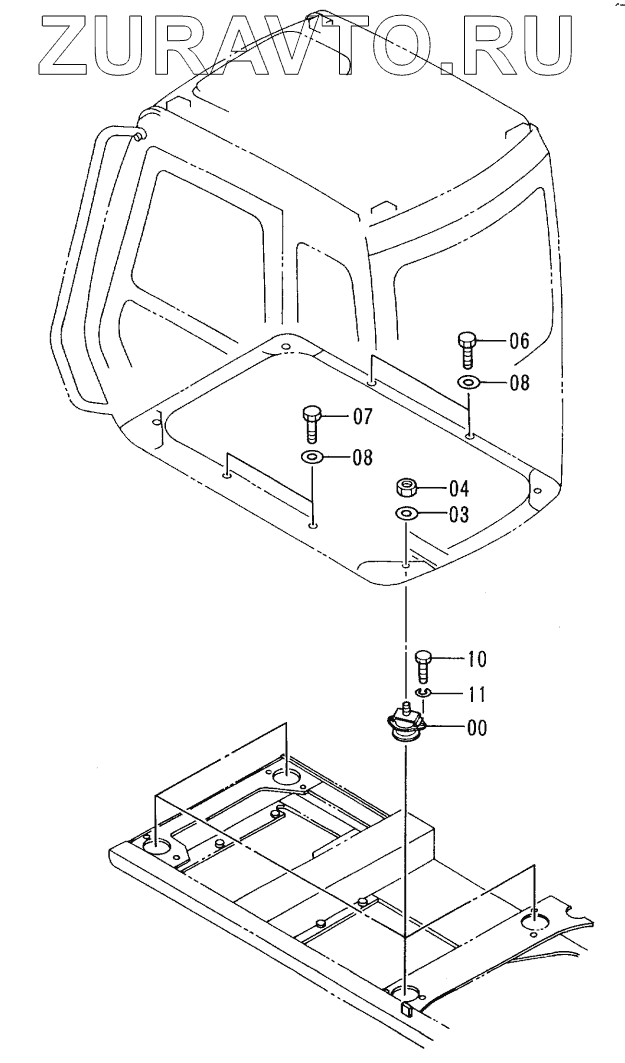
Оригинальные каталоги
| № | Номер | Наименование | Цена | |
|---|---|---|---|---|
| 4336903 | 4336903 | RUBBER | Нет в продаже |
|
| 4366825 | 4366825 | RUBBER | Нет в продаже |
|
| 3 | J222016 | WASHER | Нет в продаже |
|
| 4 | M660016 | NUT, U | Нет в продаже |
|
| 6 | J781035 | BOLT, SOCKET | Нет в продаже |
|
| 6 | 4208498 | BOLT SOCKET | Нет в продаже |
|
| 7 | J901030 | BOLT | Нет в продаже |
|
| 8 | J222010 | WASHER | Нет в продаже |
|
| 10 | 4330785 | BOLT | Нет в продаже |
|
| 11 | A590912 | WASHER, SPRING | Нет в продаже |
|
4336903
4366825
4366825
3
4
6
6
6
7
8
8
10
11
Содержащиеся в справочниках-каталогах запасные части и детали носят исключительно информационный характер