Оригинальные каталоги
| № | Номер | Наименование | Цена | |
|---|---|---|---|---|
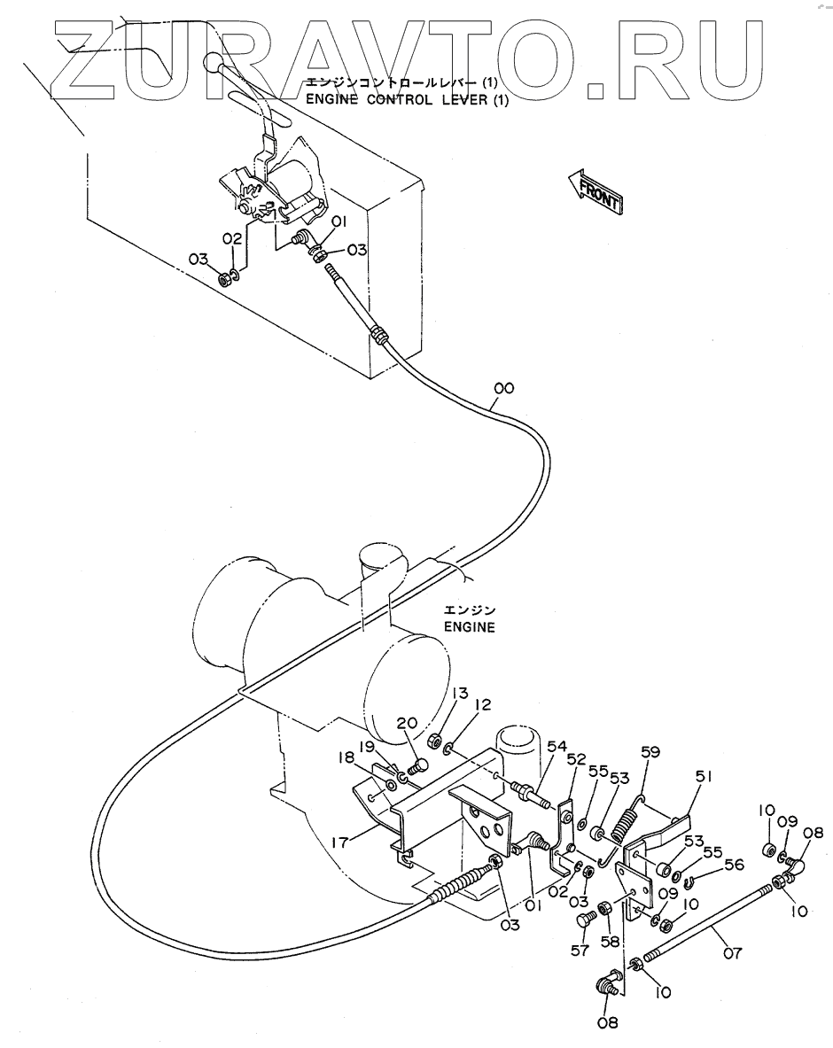
| 4093764 | 4093764 | CABLE, CONTROL | Нет в продаже |
|
| 4226648 | 4226648 | CABLE, CONTROL | Нет в продаже |
|
| 1 | 4056016 | JOINT, BALL | Нет в продаже |
|
| 2 | A590905 | WASHER, SPRING | Нет в продаже |
|
| 3 | M500504 | NUT | Нет в продаже |
|
| 7 | 4210297 | ROD | Нет в продаже |
|
| 8 | 4056017 | JOINT, BALL | Нет в продаже |
|
| 9 | A590906 | WASHER, SPRING | Нет в продаже |
|
| 10 | M500605 | NUT | Нет в продаже |
|
| 12 | A590914 | WASHER, SPRING | Нет в продаже |
|
| 13 | J952014 | NUT | Нет в продаже |
|
| 17 | 7018820 | BRACKET | Нет в продаже |
|
| 17 | 7020028 | BRACKET | Нет в продаже |
|
| 18 | A590110 | WASHER, PLANE | Нет в продаже |
|
| 19 | A590910 | WASHER, SPRING | Нет в продаже |
|
| 20 | J901025 | BOLT | Нет в продаже |
|
| 51 | 7018722 | LEVER | Нет в продаже |
|
| 52 | 8038497 | LEVER | Нет в продаже |
|
| 52 | 8044341 | LEVER | Нет в продаже |
|
| 53 | 4173387 | BUSHING | Нет в продаже |
|
| 54 | 4188374 | PIN | Нет в продаже |
|
| 55 | A590114 | WASHER | Нет в продаже |
|
| 56 | 991337 | RING, RETAINING | Нет в продаже |
|
| 57 | 4188376 | ADJUSTER | Нет в продаже |
|
| 58 | 4122395 | NUT | Нет в продаже |
|
| 59 | 4188375 | SPRING, TENSION | Нет в продаже |
|
4093764
4226648
1
1
2
2
3
3
3
3
3
7
8
8
9
9
10
10
10
10
12
13
17
17
18
19
20
51
52
52
53
53
54
55
55
56
57
58
59
Содержащиеся в справочниках-каталогах запасные части и детали носят исключительно информационный характер