Оригинальные каталоги
| № | Номер | Наименование | Цена | |
|---|---|---|---|---|
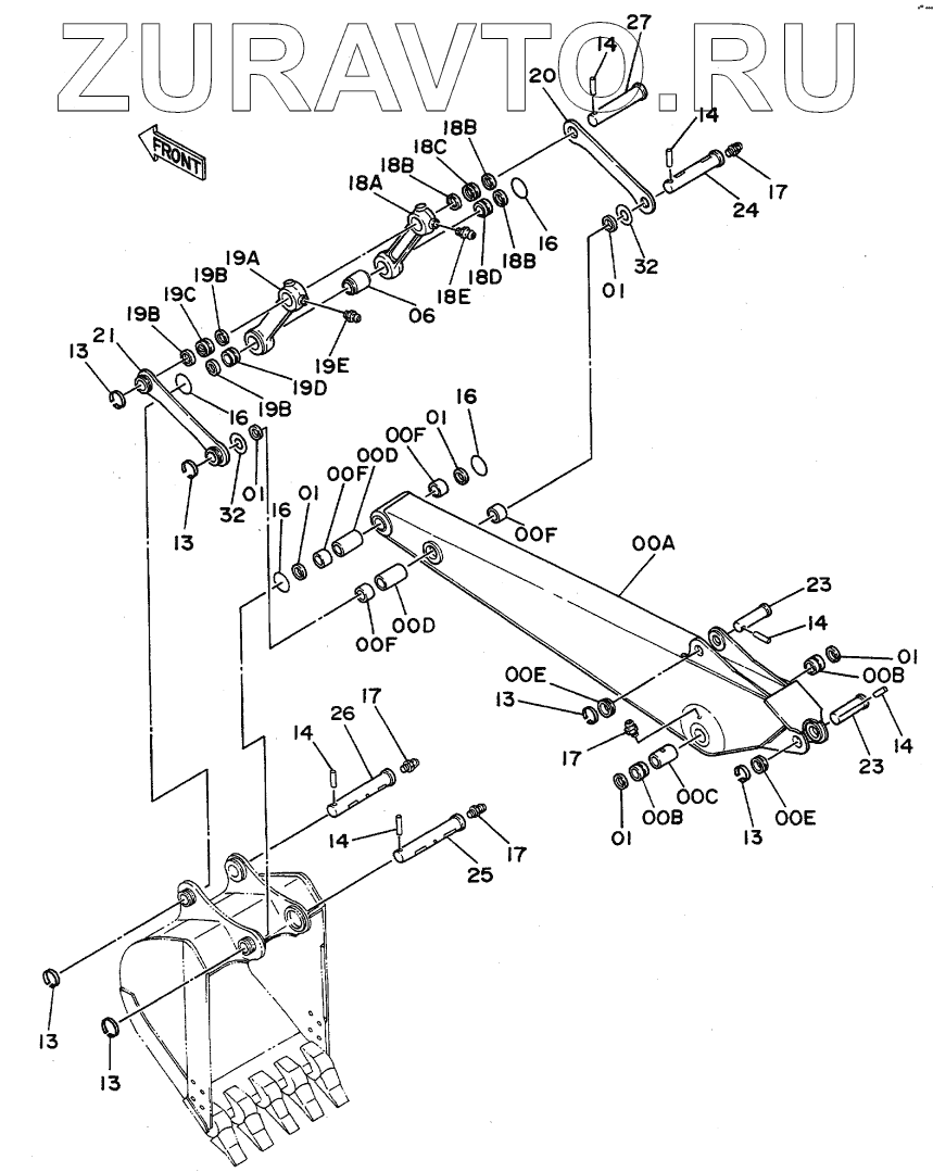
| 00 | 8038100 | ARM ASSY | Нет в продаже |
|
| 00A | 6008354 | ARM | Нет в продаже |
|
| 00B | 4188449 | BUSHING | Нет в продаже |
|
| 00C | 4128972 | PIPE | Нет в продаже |
|
| 00D | 4124575 | PIPE | Нет в продаже |
|
| 00E | 4197033 | STOPPER | Нет в продаже |
|
| 00F | 4196558 | BUSHING | Нет в продаже |
|
| 01 | 4065687 | SEAL, DUST | Нет в продаже |
|
| 06 | 4065885 | SPACER | Нет в продаже |
|
| 13 | 4065688 | RING | Нет в продаже |
|
| 14 | 4065689 | PIN | Нет в продаже |
|
| 16 | 4152726 | O-RING | Нет в продаже |
|
| 17 | J75481 | FITTING, GREASE | Нет в продаже |
|
| 18 | 8038217 | LINK ASSY | Нет в продаже |
|
| 18A | 2024315 | LINK | Нет в продаже |
|
| 18B | 4065687 | SEAL, DUST | Нет в продаже |
|
| 18C | 4196557 | BUSHING | Нет в продаже |
|
| 18D | 4196558 | BUSHING | Нет в продаже |
|
| 18E | J75481 | FITTING, GREASE | Нет в продаже |
|
| 19 | 8038218 | LINK ASSY | Нет в продаже |
|
| 19A | 2024316 | LINK | Нет в продаже |
|
| 19B | 4065687 | SEAL, DUST | Нет в продаже |
|
| 19C | 4196557 | BUSHING | Нет в продаже |
|
| 19D | 4196558 | BUSHING | Нет в продаже |
|
| 19E | J75481 | FITTING, GREASE | Нет в продаже |
|
| 20 | 4199119 | LINK | Нет в продаже |
|
| 21 | 9727188 | LINK | Нет в продаже |
|
| 23 | 3037078 | PIN | Нет в продаже |
|
| 24 | 3037079 | PIN | Нет в продаже |
|
| 25 | 3037080 | PIN | Нет в продаже |
|
| 26 | 3037081 | PIN | Нет в продаже |
|
| 27 | 3037082 | PIN | Нет в продаже |
|
| 32 | 4075357 | WASHER 1.0 | Нет в продаже |
|
00
00A
00B
00C
00D
00D
00D
00E
00E
00F
00F
00F
00F
01
01
01
01
01
01
06
13
13
13
13
13
13
14
14
14
14
14
14
16
16
16
16
17
17
17
17
18
18A
18B
18B
18B
18C
18D
18E
19
19A
19B
19B
19B
19C
19D
19E
20
21
23
23
24
25
26
27
32
32
Содержащиеся в справочниках-каталогах запасные части и детали носят исключительно информационный характер