Назад

Оригинальные каталоги

zoom-in zoom-out enlarge shrink circle-right circle-left file-text2 info cart
Номер Наименование Цена
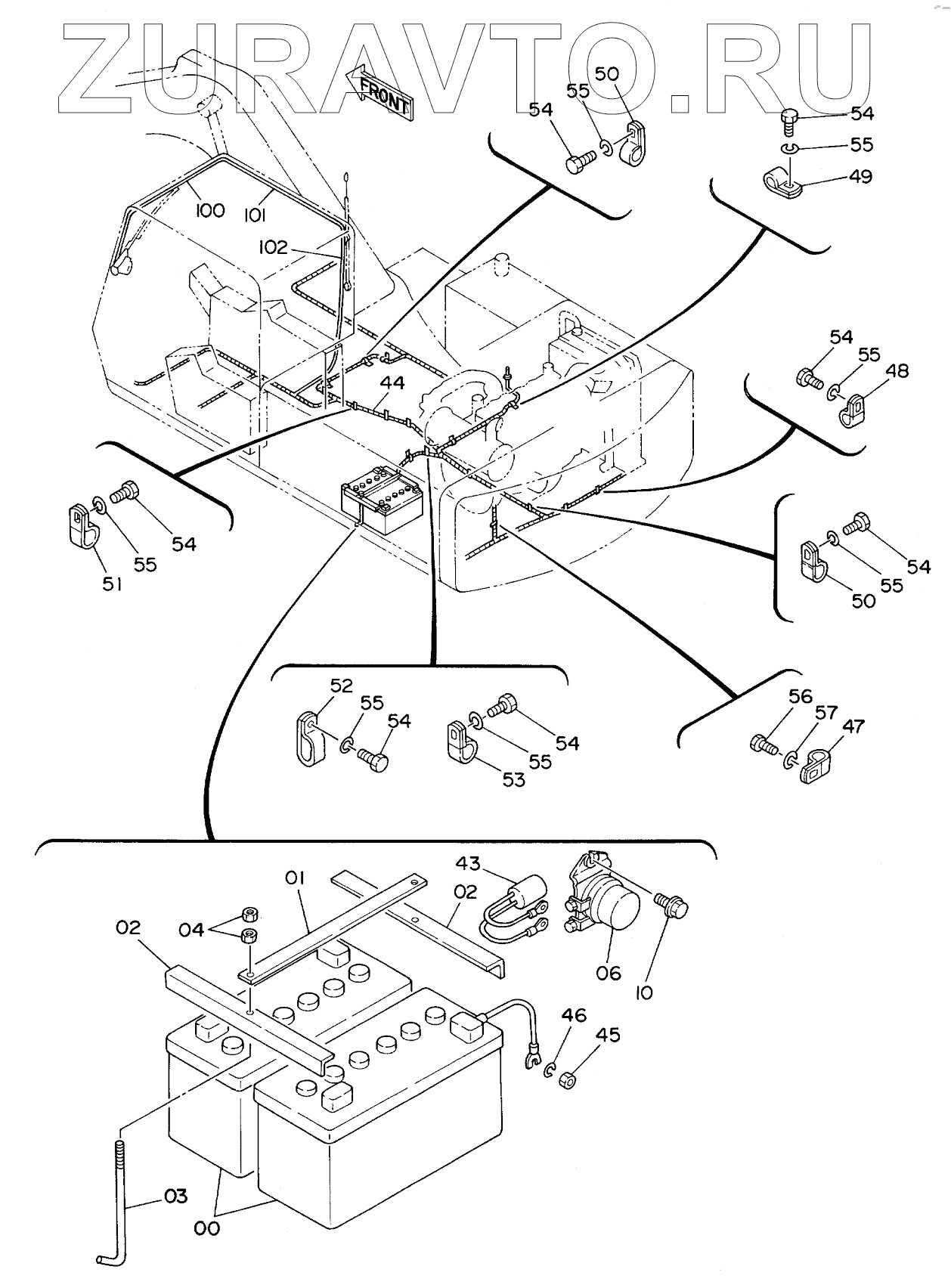
4177681 4177681 BATTERY Нет в продаже
1 4177556 STAY Нет в продаже
2 4131299 HOLDER Нет в продаже
3 4177557 BOLT Нет в продаже
4 J950010 NUT Нет в продаже
6 4031771 RELAY, BATTERY Нет в продаже
10 J020830 BOLT, SEMS Нет в продаже
43 4191038 FUSIBLE-LINK Нет в продаже
44 4214334 HARNESS, WIRE Нет в продаже
45 J9500I0 NUT Нет в продаже
46 A590910 WASHER, SPRING Нет в продаже
47 4190261 CLIP Нет в продаже
48 4190253 CLIP Нет в продаже
49 4190273 CLIP Нет в продаже
50 4190274 CLIP Нет в продаже
51 4192035 CLIP Нет в продаже
52 4190266 CLIP Нет в продаже
53 4192034 CLIP Нет в продаже
54 J901018 BOLT Нет в продаже
55 A59G910 WASHER, SPRING Нет в продаже
56 J901018 BOLT Нет в продаже
57 A590910 WASHER, SPRING Нет в продаже
100 4229055 HARNESS WIRE Нет в продаже
101 4229056 HARNESS WIRE Нет в продаже
102 4229057 HARNESS WIRE Нет в продаже
4177681
1
2
2
3
4
6
10
43
44
45
46
47
48
49
50
50
51
52
53
54
54
54
54
54
54
54
55
55
55
55
55
55
55
56
57
100
101
102
100%
Содержащиеся в справочниках-каталогах запасные части и детали носят исключительно информационный характер