Оригинальные каталоги
| № | Номер | Наименование | Цена | |
|---|---|---|---|---|
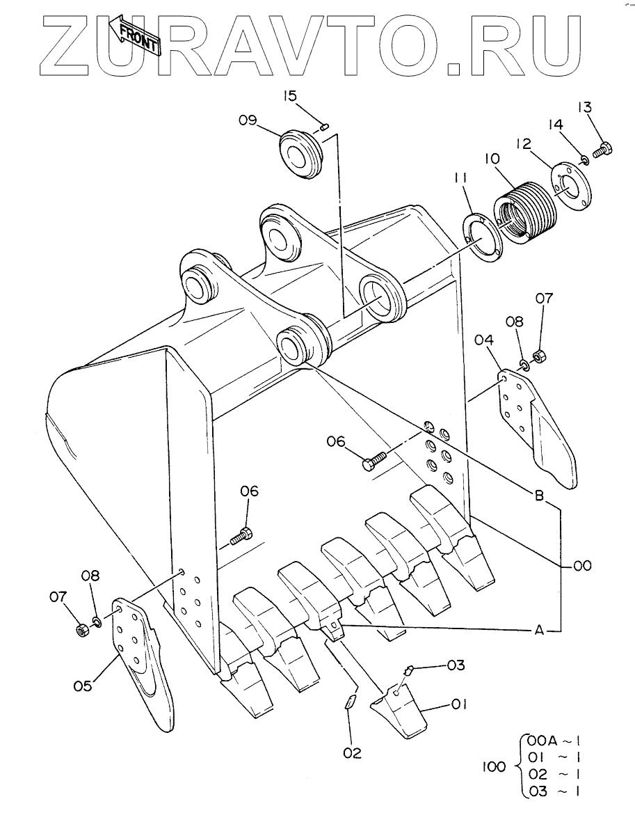
| 9074578 | 9074578 | BUCKET ASSY | Нет в продаже |
|
| 8039141 | 8039141 | BUCKET | Нет в продаже |
|
| 4187940 | 4187940 | ADAPTER, TOOTH | Нет в продаже |
|
| 4197035 | 4197035 | STOPPER | Нет в продаже |
|
| 1 | 4241728 | POINT, TOOTH | Нет в продаже |
|
| 1 | 4501626 | POINT, TOOTH | Нет в продаже |
|
| 2 | 4501627 | PIN, LOCK | Нет в продаже |
|
| 3 | 4501625 | RUBBER, LOCK | Нет в продаже |
|
| 4 | 2014503 | CUTTER | Нет в продаже |
|
| 5 | 2014504 | CUTTER | Нет в продаже |
|
| 6 | J932260 | BOLT | Нет в продаже |
|
| 7 | J951022 | NUT | Нет в продаже |
|
| 8 | A590922 | WASHER, SPRING | Нет в продаже |
|
| 9 | 4124030 | SPACER | Нет в продаже |
|
| 10 | 4124032 | SHIM 1.0 | Нет в продаже |
|
| 11 | 4124033 | SHIM 0.5 | Нет в продаже |
|
| 12 | 4143813 | PLATE | Нет в продаже |
|
| 13 | J901650 | BOLT | Нет в продаже |
|
| 14 | A590916 | WASHER, SPRING | Нет в продаже |
|
| 15 | 4179110 | PIN, KNOCK | Нет в продаже |
|
| 100 | 9075610 | KIT, POINT | Нет в продаже |
|
9074578
8039141
4187940
4187940
4197035
1
1
2
2
3
3
4
5
6
6
7
7
8
8
9
10
11
12
13
14
15
100
Содержащиеся в справочниках-каталогах запасные части и детали носят исключительно информационный характер