Оригинальные каталоги
| № | Номер | Наименование | Цена | |
|---|---|---|---|---|
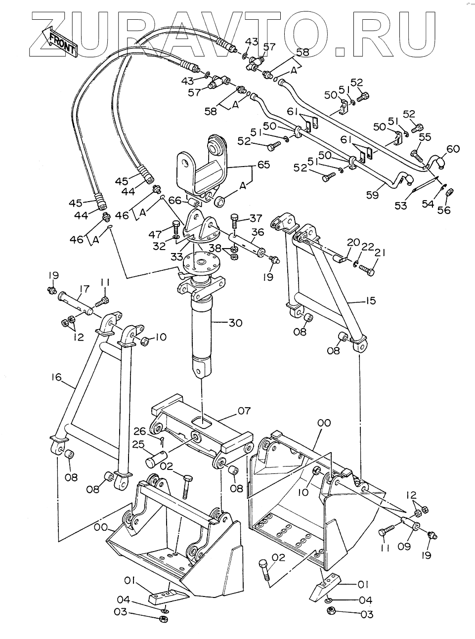
| 9076509 | 9076509 | CLAMSHELL BUCKET ASSY | Нет в продаже |
|
| 4244713 | 4244713 | BUSHING | Нет в продаже |
|
| 4087376 | 4087376 | BUSHING | Нет в продаже |
|
| 4506424 | 4506424 | O-RING | Нет в продаже |
|
| 4506424 | 4506424 | O-RING | Нет в продаже |
|
| 6000928 | 6000928 | SHELL | Нет в продаже |
|
| 1 | 452632 | TOOTH | Нет в продаже |
|
| 2 | J932280 | BOLT | Нет в продаже |
|
| 3 | J951022 | NUT | Нет в продаже |
|
| 4 | А590922 | WASHER | Нет в продаже |
|
| 7 | 7001921 | FRAME | Нет в продаже |
|
| 8 | 443976 | BUSHING | Нет в продаже |
|
| 9 | 316694 | PIN | Нет в продаже |
|
| 10 | 437303 | STOPPER | Нет в продаже |
|
| 11 | J901290 | BOLT | Нет в продаже |
|
| 12 | J950012 | NUT | Нет в продаже |
|
| 15 | 7018708 | STAY | Нет в продаже |
|
| 16 | 7018709 | STAY | Нет в продаже |
|
| 17 | 3014419 | PIN | Нет в продаже |
|
| 19 | J75481 | FITTING, GREASE | Нет в продаже |
|
| 20 | 995286 | PIN | Нет в продаже |
|
| 21 | J901022 | BOLT | Нет в продаже |
|
| 22 | А590910 | WASHER, SPRING | Нет в продаже |
|
| 25 | 492637 | AXLE | Нет в продаже |
|
| 26 | А768000 | PIN, SPLIT | Нет в продаже |
|
| 30 | 2024987 | CYL., CLAMSHELL | Нет в продаже |
|
| 32 | А590920 | WASHER, SPRING | Нет в продаже |
|
| 33 | 8019759 | LINK | Нет в продаже |
|
| 36 | 3046188 | PIN | Нет в продаже |
|
| 36 | 3014418 | PIN | Нет в продаже |
|
| 37 | J931605 | BOLT | Нет в продаже |
|
| 38 | J951016 | NUT | Нет в продаже |
|
| 43 | 4061743 | WASHER | Нет в продаже |
|
| 44 | 4055256 | HOSE | Нет в продаже |
|
| 45 | 4055191 | PROTECTOR | Нет в продаже |
|
| 46 | 4042033 | ADAPTER | Нет в продаже |
|
| 47 | M112071 | BOLT | Нет в продаже |
|
| 50 | 4190126 | CLAMP, PIPE | Нет в продаже |
|
| 51 | А590912 | WASHER, SPRING | Нет в продаже |
|
| 52 | J901255 | BOLT | Нет в продаже |
|
| 53 | 4070806 | PLATE | Нет в продаже |
|
| 54 | А590910 | WASHER, SPRING | Нет в продаже |
|
| 55 | J901022 | BOLT | Нет в продаже |
|
| 56 | J950010 | NUT | Нет в продаже |
|
| 57 | 4055907 | JOINT, SWIVEL | Нет в продаже |
|
| 58 | 4208243 | ADAPTERS | Нет в продаже |
|
| 59 | 8039715 | PIPE | Нет в продаже |
|
| 60 | 8039716 | PIPE | Нет в продаже |
|
| 61 | 4137298 | SEAT, SCREW | Нет в продаже |
|
| 65 | 9076510 | LINK | Нет в продаже |
|
| 65 | 9087492 | LINK | Нет в продаже |
|
| 66 | 4244714 | SPACER | Нет в продаже |
|
9076509
4244713
4087376
4506424
4506424
4506424
4506424
6000928
6000928
1
1
2
2
3
3
4
4
7
8
8
8
8
8
9
10
10
11
11
12
12
15
16
17
19
19
19
20
21
22
25
26
30
32
33
36
36
37
38
43
43
44
44
45
45
46
46
47
50
50
50
50
51
51
51
51
52
52
52
52
53
54
55
56
57
57
58
58
59
60
61
61
65
65
66
Содержащиеся в справочниках-каталогах запасные части и детали носят исключительно информационный характер