Оригинальные каталоги
| № | Номер | Наименование | Цена | |
|---|---|---|---|---|
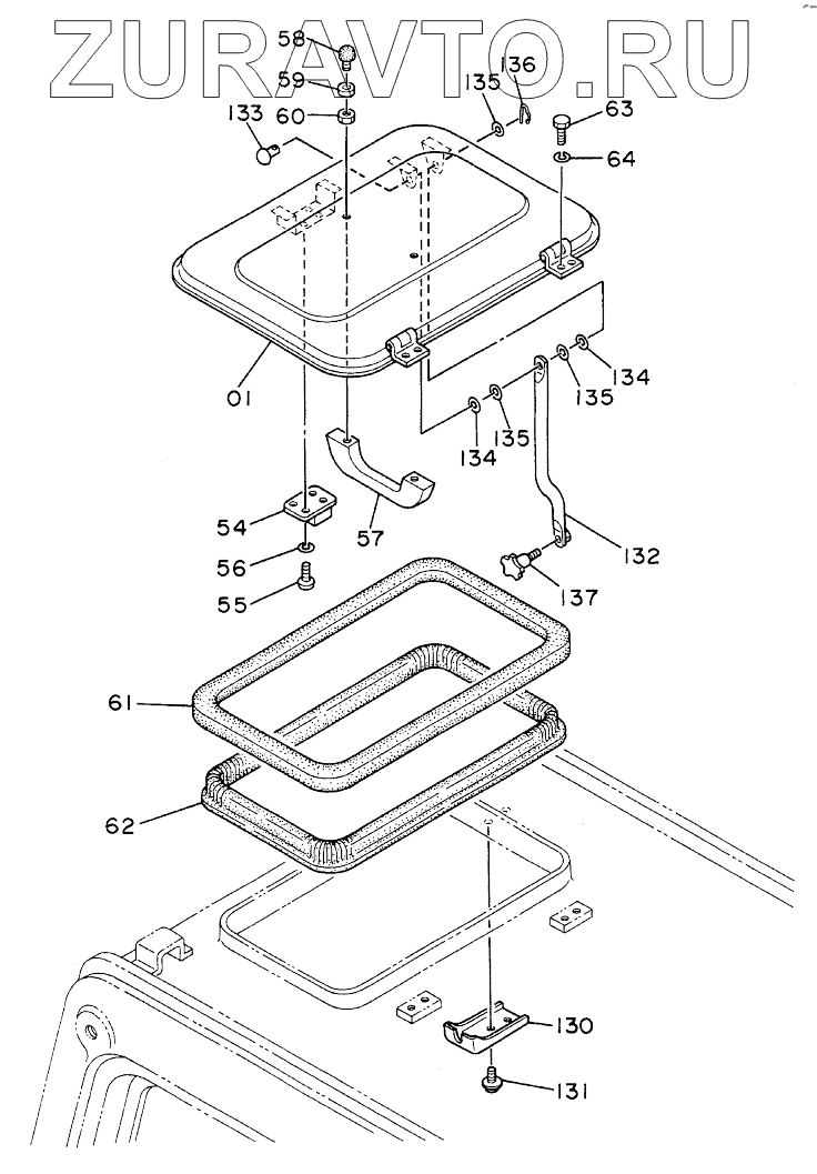
| 1 | 4204577 | COVER | Нет в продаже |
|
| 1 | 4239988 | COVER | Нет в продаже |
|
| 54 | 4204578 | LOCK | Нет в продаже |
|
| 55 | М430513 | SCREW | Нет в продаже |
|
| 56 | А590905 | WASHER, SPRING | Нет в продаже |
|
| 57 | 4204579 | HANDLE | Нет в продаже |
|
| 58 | 4204580 | STOPPER | Нет в продаже |
|
| 59 | 4204581 | RUBBER | Нет в продаже |
|
| 60 | М500504 | NUT | Нет в продаже |
|
| 61 | 4204583 | RUBBER | Нет в продаже |
|
| 62 | 4204582 | SUPPORT | Нет в продаже |
|
| 63 | J900812 | BOLT | Нет в продаже |
|
| 64 | А590908 | WASHER, SPRING | Нет в продаже |
|
| 130 | 4239989 | BRACKET | Нет в продаже |
|
| 131 | J460816 | SCREW | Нет в продаже |
|
| 132 | 4239990 | STAY | Нет в продаже |
|
| 133 | 4239991 | RIVET | Нет в продаже |
|
| 134 | 4239992 | WASHER | Нет в продаже |
|
| 135 | A590106 | WASHER | Нет в продаже |
|
| 136 | 4022696 | PIN | Нет в продаже |
|
| 137 | 4239993 | KNOB | Нет в продаже |
|
| 137 | 4289287 | KNOB | Нет в продаже |
|
1
1
54
55
56
57
58
59
60
61
62
63
64
130
131
132
133
134
134
135
135
135
136
137
137
Содержащиеся в справочниках-каталогах запасные части и детали носят исключительно информационный характер