Оригинальные каталоги
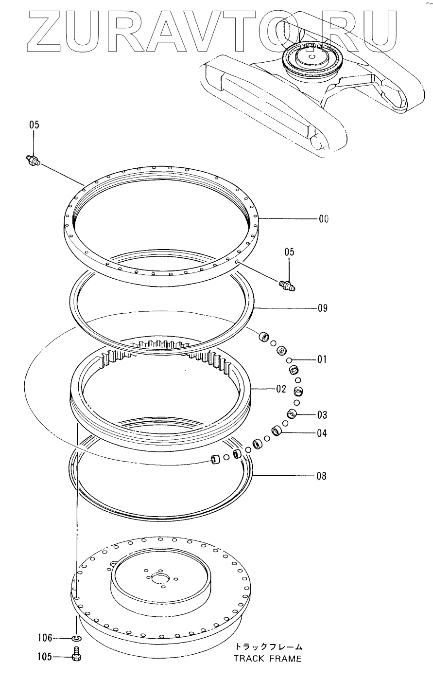
| № | Номер | Наименование | Цена | |
|---|---|---|---|---|
| RACE | RACE | RACE | Нет в продаже |
|
| 9112188 | 9112188 | BRG., SWINGCIRCL ASS'Y | Нет в продаже |
|
| 1 | 4143666 | BALL | Нет в продаже |
|
| 2 | RACE | RACE | Нет в продаже |
|
| 3 | 4134900 | SUPPORT | Нет в продаже |
|
| 4 | 4134901 | SUPPORT | Нет в продаже |
|
| 5 | J75481 | FITTING, GREASE | Нет в продаже |
|
| 8 | 4194493 | SEAL | Нет в продаже |
|
| 9 | 4194494 | SEAL | Нет в продаже |
|
| 105 | M122475 | BOLT | Нет в продаже |
|
| 106 | A590924 | WASHER, SPRING | Нет в продаже |
|
RACE
1
2
3
4
5
5
8
9
105
106
Содержащиеся в справочниках-каталогах запасные части и детали носят исключительно информационный характер